lemon-mirror:
Home >> Isuzu >> 2000 >> Trooper LS V6-3.5L >> Repair and Diagnosis >> Maintenance >> Alignment >> Service and Repair >> Caster

Caster

CASTER








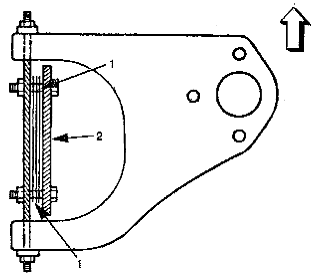
The caster angle can be adjusted by means of the caster shims (1) installed between the chassis frame (2) and fulcrum pins.
Caster angle: 2°10' ± 45'
Left and right side must be equal within 30'.
Difference of the caster shim front/rear thickness should be 3.6 mm (0.142 inch) or less.
Overall thickness of caster shim and camber shim should be 10.8 mm (0.425 inch) or less.
Tighten the fulcrum pin bolt to the specified torque.
Torque: 152 Nm (112 ft. lbs.)