lemon-mirror:
Home >> Isuzu >> 2000 >> Trooper LS V6-3.5L >> Repair and Diagnosis >> Maintenance >> Alignment >> Service and Repair >> Camber

Camber

CAMBER








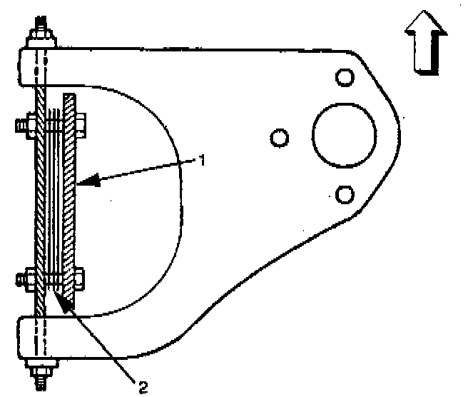
The camber angle can be adjusted by means of the camber shims(2) installed in position between the chassis frame (1) and fulcrum pins.
Camber angle: 0° ± 30'
King pin inclination: 12°30' ± 30'
Left and right side must be equal within 30'
Overall thickness of caster shim and camber shim should be 10.8 mm (0.425 inch) or less
Tighten the fulcrum pin bolt to the specified torque.
Torque: 152 Nm (112 ft. lbs.)