lemon-mirror:
Home >> Isuzu >> 2000 >> Trooper LS V6-3.5L >> Repair and Diagnosis >> Heating and Air Conditioning >> System Relay >> Service and Repair

System Relay: Service and Repair




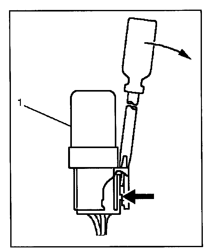
1. Disconnect the heater and the A/C relay (B-36).
- When removing the connector for relay, unfasten the tang lock of the connector by using a screwdriver, then pull the relay (1) out.



2. Check for continuity between the heater and the A/C relay (B-36) terminals.