lemon-mirror:
Home >> Isuzu >> 2000 >> Rodeo LSE 4WD V6-3.2L >> Repair and Diagnosis >> Specifications >> Mechanical Specifications >> Engine >> Cylinder Block Assembly >> System Specifications >> Cylinder Block Assembly

Cylinder Block Assembly

Inspection and Repair
1. Remove the cylinder head gasket and any other material adhering to the upper surface of the cylinder block. Be very careful not to allow any material to accidentally drop into the cylinder block. Be very careful not to scratch the cylinder block.
2. Carefully remove the oil pump, rear oil seal retainer, and crankcase assembly installation surface seal.
3. Wipe the cylinder block clean.
4. Visually inspect the cylinder block. If necessary, use a flaw detector to perform a dye penetrate and hydraulic (or air pressure) test. If cracking or other damage is discovered, the cylinder block must either be repaired or replaced.

Flatness
1. Using a straight-edge and feeler gauge, check that the upper surface of the cylinder block is not warped.

Caution: Be very careful not to allow any material to accidentally drop into the upper surface of the cylinder block. Be very careful not to scratch the upper surface of the cylinder block.





2. The cylinder block must be reground or replaced if the warpage exceeds the limit.
Warpage
Limit: 0.15 mm (0.0059 inch)
Maximum repairable limit: 0.15 mm (0.0059 inch)

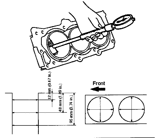
Cylinder Bore





Use a cylinder gauge to measure the cylinder bore diameter in both the axial and thrust directions. Each measurement should be made at six points.

Caution: Be very careful not to allow any material to accidentally drop into the upper surface of the cylinder block. Be very careful not to scratch the upper surface of the cylinder block.

Cylinder Bore Inside Diameter
Limit: 93.530 (3.6823)
If the measurement exceed the specified limit, the cylinder block must be replaced.
Diameter
Grade A: 93.400 mm - 93.410 mm (3.6772 inch - 3.6776 inch)
Grade B: 93.411 mm - 93.420 mm (3.6776 inch - 3.6779 inch)
Grade C: 93.421 mm - 93.430 mm (3.6780 inch - 3.6783 inch)

Note: For information on piston diameter, please refer to Inspection and Repair for the Piston and Connecting Rod.





^ The "Grade" mark (1) is stamped at the position illustrated.