lemon-mirror:
Home >> Isuzu >> 2000 >> Rodeo LS 4WD V6-3.2L >> Repair and Diagnosis >> Transmission and Drivetrain >> Differential Assembly >> Service and Repair >> Unit Repair

Unit Repair

FRONT DIFFERENTIAL

Disassembly
1. Remove differential carrier fixing bolt.
2. Remove differential assembly.





3. Using holding fixture J-37264 and holding fixture base J-3289-20, fix the differential assembly to the bench.
4. Remove bearing cap bolt.





5. Apply a setting mark to the side bearing cap and the differential carrier then remove bearing cap.
6. Remove differential cage assembly.
7. Remove side bearing outer race, after removal, keep the right and left hand side bearing assemblies separate to maintain inner and outer race combinations.





8. Remove side bearing, using remover J-42379 and adapter J-8107-2.
- Select insert; 303173 and collet halves; 44801 in remover kit J-42379.
9. Remove adjust shim, note the thickness and position of the shims removed.





10. Remove the flange nut using holding wrench J-8614-01.
11. Remove flange using an universal puller.





12. Remove the drive pinion assembly using a soft metal rod and a hammer.
13. Remove collapsible spacer.





14. Remove the inner bearing using remover J-42379.
- Select insert; 303173 and collet halves; 44801 in remover kit J-42379.
15. Remove adjust shim.
16. Remove oil seal.
17. Remove oil seal slinger.
18. Remove outer bearing.








19. Remove the inner bearing outer race (1) and the outer bearing outer race (2) by using a brass bar and a hammer.

Reassembly





1. Using installer J-7817 and grip J-8092, install outer bearing outer race.





2. Using installer J-7818 and grip J-8092, install Inner bearing outer race.





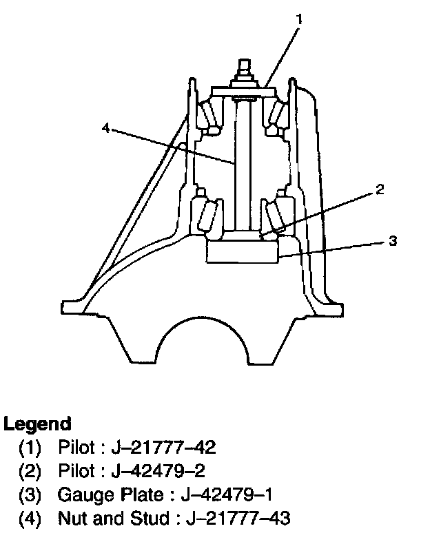
3. Install adjust shim and adjust drive pinion mounting distance:
1. Apply gear oil to the inner and outer drive pinion bearing. Clean the pinion setting gauge set. Then install the gauge set together with the inner and outer bearings.
2. Tighten the nut to the specified torque.
Torque: 2.3 Nm (20 Inch lbs.)





3. Clean the side bearing bores. Install the dial indicator with the discs and arbor. Install and tighten the bearing caps to the specified torque.
Torque: 97 Nm (72 ft. lbs.)





4. Set the dial indicator to "0". Place it on the mounting post of the gauging arbor with the contact button touching the indicator pad. Force the dial indicator downward until the needle has made a half turn clockwise. Tighten down the dial indicator in this position.





5. Position the plunger on the gauge plate. Move the gauging arbor slowly back and forth and locate the position at which the dial indicator shows the greatest defection. At this point, once again set the dial indicator to "0". Repeat the procedure to verify the "0" setting.





6. After the ZERO setting is obtained, rotate the gauging arbor until the dial indicator rod does not touch the gauging plate. Record the number the dial indicator needle points to.





7. Record the pinion depth code on the head of the drive pinion. The number indicates a necessary change in the pinion mounting distance. A plus number indicates the need for a greater mounting distance (which can be achieved by decreasing the shim thickness). A minus number indicates the need for a smaller mounting distance (which can be achieved by increasing the shim thickness). If examination reveals pinion depth code "0", the pinion is "nominal".





8. Select the shim using chart.





4. Place the shim on the drive pinion. Install the inner bearing onto the pinion using an installer J-6133-01 and a press.

NOTE: Do not apply pressure to the roller cage and apply pressure only to the inner race.

5. Discard the used collapsible spacer and install a new one.
6. Install pinion gear.
7. Install outer bearing.
8. Install oil seal slinger.





9. Use oil seal installer J-24250 to install a new oil seal that has been soaked in front axle lubricant.

NOTE: Take care to use a front differential oil seal, NOT the rear differential oil seal.

10. Install flange.





11. Install flange nut.
1. Apply lubricant to the pinion threads.
2. Tighten the nut to the specified torque using the pinion flange holder J-8614-01.
Torque: 217 Nm (160 ft. lbs.)

NOTE: Discard used flange nut and install new one and do not over tighten the flange nut.





3. Adjust pinion bearing preload.
a. Measure the bearing preload by using a torque meter. Note the scale reading required to rotate the flange.
b. Continue tightening flange nut until the specified starting torque is obtained.
Starting torque: 0.6 - 1.1 Nm (5.6 - 10.0 inch lbs.)

NOTE: Do not tighten the flange nut more than 678 Nm (500 ft. lbs.).





12. Install adjust shim.
1. Attach the side bearing to the differential assembly without shims. Support the opposite side using a pilot to prevent bearing damage.





2. Insert the differential cage assembly with bearing outer races into the side bearing bores of the carrier.





3. Using two sets of feeler gauges, insert a feeler stock of sufficient thickness between each bearing outer race and the carrier to remove all end play. Make certain the feeler stock is pushed to the bottom of the bearing bores. Mount the dial indicator J-8001 on the carrier so that the indicator stem is at right angles to a tooth on the ring gear.





4. Adjust feeler gauge thickness from side to side until ring gear backlash is in the specified range.
Backlash: 0.13 - 0.20 mm (0.005 - 0.008 inch)
With zero end play and correct backlash established, remove the feeler gauge packs, determine the thickness of the shims required and add 0.025 mm (0.001 inch) to each shim pack to provide side bearing preload. Always use new shims.





5. Use bearing remover J-42379 and pilot J-8107-2 to remove side bearing.
Select insert; 303173 and collet halves; 44801 in remover kit J-42379.





13. Install the side bearings together with the selected shims.
14. Install side bearing outer race.
15. Install differential cage assembly.





16. Install bearing cap then align the setting marks (1) applied at disassembly.





17. Tighten the cap bolt to the specified torque.
Torque: 97 Nm (72 ft. lbs.)








Gear Tooth Contact Pattern Check And Adjustment
1. Apply a thin coat of prussian blue or equivalent to the faces of the 7-8 teeth of the ring gear. Check the impression of contact on the ring gear teeth and make necessary adjustment as described in illustration if the contact is abnormal.





18. Install differential assembly.
1. Clean the faces of the front axle case and differential carrier. Apply Three Bond TB1215 or equivalent to the sealing side of the axle case and the carrier.
2. Attach the differential case and the carrier assembly to the front axle case and tighten the nuts and bolts.
Torque: 25 Nm (119 ft. lbs.)
3. Fill the axle case with hypoid gear lubricant, to just below the filler hole.
Lubricant capacity: 1.4 liter (1.48 US qt.)

DIFFERENTIAL CAGE ASSEMBLY





Disassembled View

Disassembly
1. Remove bolt.
2. Remove ring gear.





3. Remove lock pin.





4. Remove the cross pin, using a soft metal rod and a hammer.
5. Remove pinion gear and thrust washer.
6. Remove side gear.
7. Remove thrust washer.

Inspection And Repair
Make necessary correction or parts replacement if wear, damage, corrosion or any other abnormal condition are found through inspection.
Check the following parts.
1. Ring gear, pinion gear
2. Bearing
3. Side gear, pinion gear, cross pin
4. Differential cage, carrier
5. Thrust washer
6. Oil seal

Ring gear replacement:
1. The ring gear should always be replaced with the drive pinion as a set.
2. Discard used bolts and install new ones.
Torque: 108 Nm (80 ft. lbs.)





3. Tighten the fixing bolts in a diagonal sequence as illustrated.

Reassembly
1. Install thrust washer.
2. Install side gear.





3. Install the pinion gear with thrust washer by engaging it with the side gears while turning both pinion gears simultaneously in the same direction.





4. Install cross pin.
- Be sure to install the cross pin so that it is in alignment with the lock pin hole in the differential cage.
5. Install lock pin. After lock pin installation, stake the cage to secure the lock pin.





6. Install ring gear and tighten the bolts in diagonal sequence as illustrated.
Torque: 108 Nm (80 ft. lbs.)

NOTE: Discard used bolts and install new ones.