lemon-mirror:
Home >> Isuzu >> 2000 >> Rodeo LS 2WD V6-3.2L >> Repair and Diagnosis >> Power and Ground Distribution >> Fuse >> Locations

Fuse: Locations

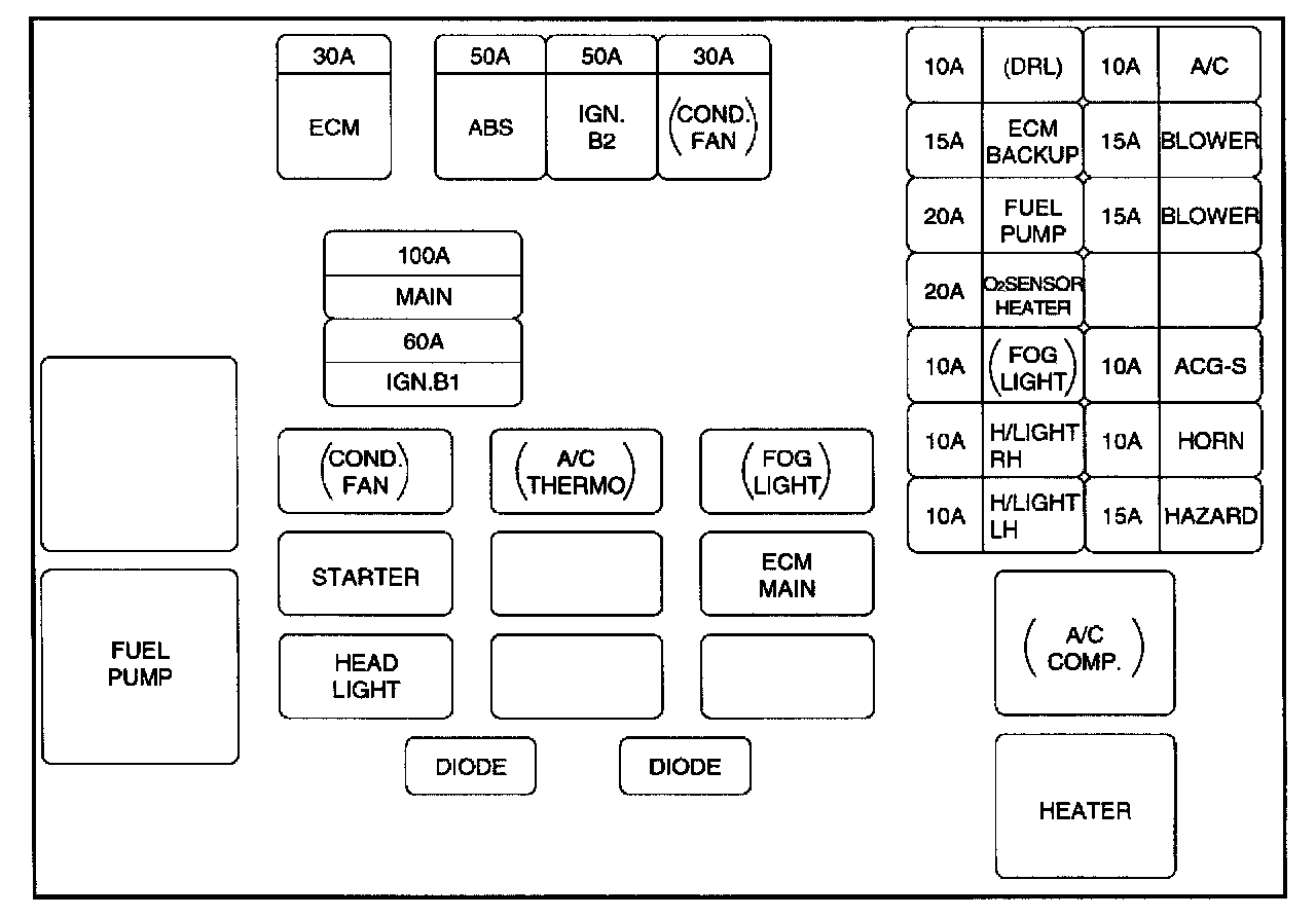
Fuse and Relay Panel (Underhood Electrical Center):