lemon-mirror:
Home >> Isuzu >> 2000 >> Rodeo LS 2WD V6-3.2L >> Repair and Diagnosis >> Maintenance >> Alignment >> Service and Repair >> Wheel Alignment Procedures

Wheel Alignment Procedures

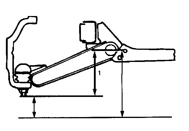
TRIM HEIGHT





Adjust the trim height (1) by means of the adjusting bolt on the height control arms.

CAUTION: When adjusting front end alignment, be sure to begin with trim height first, as it may change other adjusted alignments.

1. Check and adjust the tire inflation pressures.
2. Park the vehicle on a level ground and move the front of the vehicle up and down several times to settle the suspension.





3. Make necessary adjustment with the adjusting bolt on the height control arms. Trim height: 119 ± 5 mm (4.69 ± 0.2 inch)

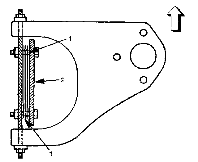
CASTER








The caster angle can be adjusted by means of the caster shims (1) installed between the chassis frame (2) and fulcrum pins. Caster angle: 2°30' ± 1°

CAUTION: Left and right side must be equal within 30'.

NOTE: Difference of the caster shim front/rear thickness should be 3.6 mm (0.142 inch) or less. Overall thickness of caster shim and camber shim should be 10.3 mm (0.425 inch) or less.

Tighten the fulcrum pin bolt to the specified torque. Torque to 152 Nm (112 ft. lbs.)

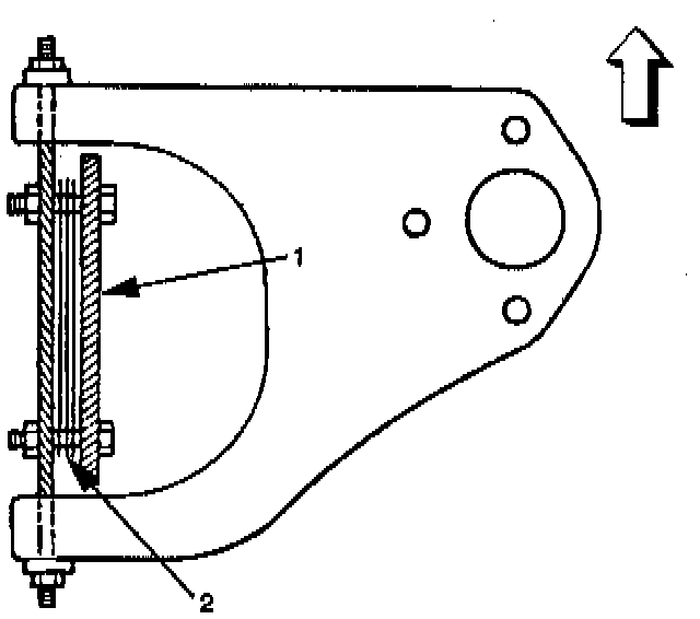
CAMBER








The camber angle can be adjusted by means of the camber shims (2) installed in position between the chassis frame (1) and fulcrum pins. Camber angle: 0° ± 30'. King pin inclination: 12°30' ± 30'.





CAUTION: Left and right side must be equal within 30'.

NOTE: Overall thickness of caster shim and camber shim should be 10.8 mm (0.425 inch) or less. Tighten the fulcrum pin bolt to the specified torque. Torque to 152 Nm (112 ft. lbs.)

TOE-IN





1. To adjust the toe-in angle, loosen the lock nuts (2) on the tie rod (1) and turn the tie rod. Turn both rods the same amount, to keep the steering wheel centered . Toe-in: 0 ± 2 mm (0 ± 0.08 inch)
2. Tighten the lock nut to the specified torque. Torque to 98 Nm (72 ft. lbs.)