lemon-mirror:
Home >> Isuzu >> 1999 >> Trooper V6-3.5L >> Repair and Diagnosis >> Powertrain Management >> Computers and Control Systems >> Knock Sensor >> Testing and Inspection >> System Inspection

System Inspection

Knock Sensor (KS) System Check (Engine Knock, Poor Performance, or Poor Economy)




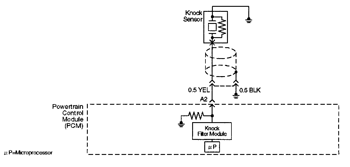
Circuit Description
The knock sensor (KS) sends an AC voltage signal to the powertrain control module (PCM). As the KS detects engine knock, the signal to the PCM changes in amplitude and frequency. The PCM retards timing if the engine speed is over 900 RPM.

Diagnostic Aids
If the KS system checks OK, but detonation is the complaint, refer to Diagnosis by Symptom, Detonation/Spark Knock. Testing and Inspection

Steps 1 - 10:




Test Description
The numbers below refer to the step numbers on the Diagnostic Chart.
9. The change in signal speed depends on how hard the tapping is done. Normally there is about 1.5 to 10 mV at PCM pin A2 with the engine off. Loud tapping should be able to make the reading jump to 20 - 25 mV AC.