lemon-mirror:
Home >> Isuzu >> 1998 >> Trooper LS V6-3.5L >> Repair and Diagnosis >> Powertrain Management >> Transmission Control Systems >> Diagrams

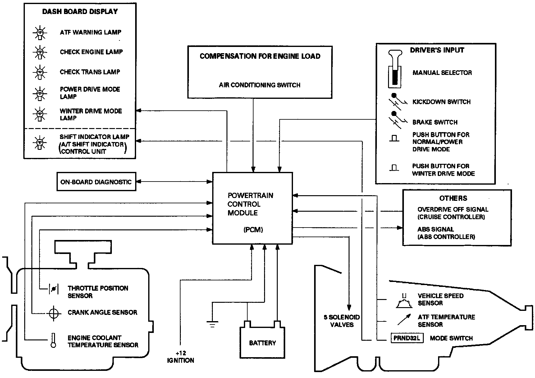
Transmission Control Systems: Diagrams