lemon-mirror:
Home >> Isuzu >> 1998 >> Rodeo S 2WD L4-2.2L >> Repair and Diagnosis >> Powertrain Management >> Computers and Control Systems >> Service and Repair >> Metri-Pack

Metri-Pack





Tools Required
J 35689 Terminal Remover

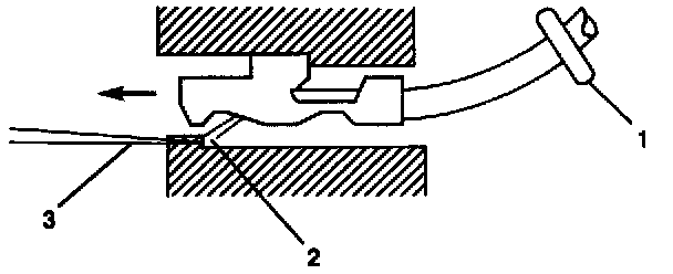
Removal Procedure
Some connectors use terminals called Metri-Pack Series 150. These may be used at the engine coolant temperature (ECT) sensor.
1. Slide the seal (1) back on the wire.
2. Insert the J 35689 tool or equivalent (3) in order to release the terminal locking tang (2).
3. Push the wire and the terminal out through the connector. It you reuse the terminal, reshape the locking tang.





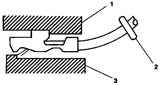
Installation Procedure
Metri-Pack terminals are also referred to as "pull-to- seat" terminals.
1. In order to install a terminal on a wire, the wire must be inserted through the seal (2) and through the connector (3).
2. The terminal (1) is then crimped onto the wire.
3. Then the terminal is pulled back into the connector to seat it in place.