lemon-mirror:
Home >> Isuzu >> 1998 >> Rodeo LS 2WD V6-3.2L >> Repair and Diagnosis >> Powertrain Management >> Computers and Control Systems >> Service and Repair >> Metri-Pack >> Installation Procedure

Installation Procedure





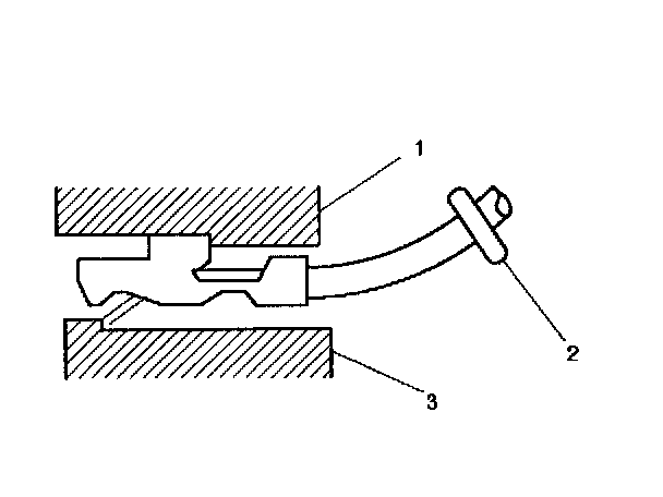
Metri-Pack terminals are also referred to as "pull-to-seat" terminals.
1. In order to install a terminal on a wire, the wire must be inserted through the seal (2) and through the connector (3).
2. The terminal (1) is then crimped onto the wire.
3. Then the terminal is pulled back into the connector to seat it in place.