lemon-mirror:
Home >> Infiniti >> 1990 >> M30 V6-181 3.0L >> Repair and Diagnosis >> Powertrain Management >> Computers and Control Systems >> Main Relay (Computer/Fuel System) >> Testing and Inspection

Main Relay (Computer/Fuel System): Testing and Inspection

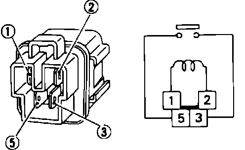
Fig. 206 ECCS Relay & Fuel Pump Relay Continuity Test:






1. With a 12 volt direct current supplied between terminals 1 and 2, continuity should exist between terminals 3 and 5, Fig. 206.
2. No continuity should exist between terminals 3 and 5 when no current is supplied.