lemon-mirror:
Home >> Hyundai >> 2013 >> Elantra L4-1.8L >> Repair and Diagnosis >> Transmission and Drivetrain >> Automatic Transmission/Transaxle >> Control Module >> Diagrams >> Transaxle Control Module (TCM)

Transaxle Control Module (TCM)





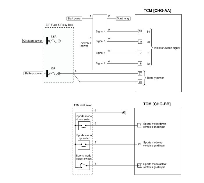
1. TCM Connector and Terminal Function





2. TCM Terminal Function

Connector [CHG-AA]










TCM Terminal Input/ Output Signal

Connector [CHG-AA]













Connector [CHG-BB]






Circuit Diagram