lemon-mirror:
Home >> Hyundai >> 2012 >> Tucson FWD L4-2.4L >> Repair and Diagnosis >> Body and Frame >> Locks >> Keyless Entry >> Keyless Starting System >> Service and Repair >> Button Engine Start System >> Fob Holder >> Repair Procedures

Repair Procedures





Removal

1. Disconnect the negative(-) battery terminal.
2. Remove the floor console.

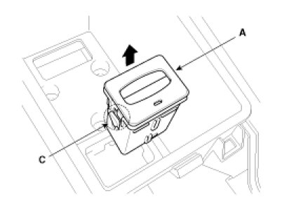
3. Disconnect the connector (B), then remove the fob holder assembly (A) after releasing the hook (C).










Installation

1. Install the fob holder assembly.
2. Install the floor console.
3. Install the negative(-) battery terminal.