lemon-mirror:
Home >> Hyundai >> 2012 >> Equus V8-5.0L >> Repair and Diagnosis >> Windows and Glass >> Windows >> Window Shade Switch >> Service and Repair

Window Shade Switch: Service and Repair





Removal

Floor Console Side
1. Disconnect the negative (-) battery terminal.
2. Remove the floor console upper cover (A).




3. Disconnect the connector from the console upper cover.




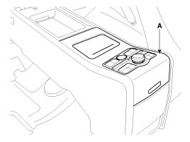
4. Remove the rear curtain switch (A).





Rear Console Side
1. Disconnect the negative (-) battery terminal.
2. Remove the rear console upper cover (A).




3. Remove the rear console switch assembly (A) after removing screws and connectors.






Installation

Floor Console Side
1. Install the rear curtain switch and connector to the console upper cover.
2. Install the console upper cover to the floor console.

Rear Console Side
1. Install the rear console switch to the rear console upper cover.
2. Install the rear console upper cover.