lemon-mirror:
Home >> Hyundai >> 2011 >> Genesis Sedan V6-3.8L >> Repair and Diagnosis >> Diagrams >> Electrical Diagrams >> Powertrain Management >> Body Control Module >> BCM (Body Control Module)

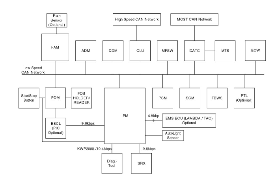
BCM (Body Control Module)





Schematic Diagrams




IPM : Instrument Panel Module
FAM : Front Area Module
DDM : Driver Door Module
ADM : Assist Door Module
SCM : Steering Control Module
SMK : Smart Key
PDM : Power Distribution Module
CLU : Cluster
MFSW : Multi Function Switch
PSM : Power Seat Module
FBWS : Front Back Warning System
PTM : Power Trunk Module
ECW : Electronic Control Wiper
ESCL : Electronic Steering Column Lock