lemon-mirror:
Home >> Hyundai >> 2011 >> Azera V6-3.8L >> Repair and Diagnosis >> Powertrain Management >> Computers and Control Systems >> Body Control Module >> Service and Repair

Body Control Module: Service and Repair





Inspection

Trouble diagnostics when using scan tool.
1. If the self-diagnostic function is in operation, CAN communication stops and LIN communication is converted into self-diagnostic communication.
2. Only BCM communicates directly with scan tool, and the other units perform self-diagnostic function by BCM through the mediator of CAN or LIN.

BCM Current Data
The body control module can diagnose with the diagnosis tool more quickly.
The BCM communicates with the diagnosis tool and then reads the input/output value and drives the actuator.
Input/output Value













Self Diagnosis : BCM DTC List






BCM Actuator Operation
SCAN tool can operates all actuators controlled by BCM by force.






ADM, DDM, IMS self diagnostic function
1. It can be communicated with scan tool through of BCM.
2. BCM receives the commands from scan tool and remits to DDM, ADM and IMS units with CAN. BCM receives the response from the units with CAN inversely, and feedback to scan tool with CAN.
3. Input display and output forced drive can be performed in each of DDM, ADM and IMS units. Though, failure diagnosis is limited to the certain diagnosis ranges.





Driver Door Module (DDM)
Input/ Output Value





DDM DTC List





DDM Actuator List






Assist Door Module (ADM)
Input/ Output Value





ADM DTC List





ADM Actuator List






Power Seat Module (IMS)
Input/ Output value





IMS DTC List





IMS Actuator List






Tilt & Telescope Module (IMS)
Input/ Output value





TILT DTC List





Tilt Actuator List






BCM Diagnosis With Scan Tool
1. It will be able to diagnose defects of BCM with scan tool quickly. Scan tool can operates actuator forcefully, input/output value monitoring and self diagnosis.
2. Select model and menu.








3. Select "Current data", if you will check current data of BCM. It provides power supply status, multi function status, lamp status, door status, lock system status, wiper, auto light status and so on.












4. If you will check BCM data operation forcefully, select "Actuation test".








5. You can turn ON/OFF as below option function with the user option program.
(1) LOCK / UNLOCK confirming alarm: Alarm sound ON/OFF control when you LOCK/UNLOCK doors with transmitter.
(2) Mechanical LOCKING system: Arm/Disarm ON/OFF when you lock the door with the mechanical key.
(3) AUTO DOOR LOCK/UNLOCK system ON/OFF.
A. Vehicle speed gearing AUTO DOOR LOCK (more than 20km/h)
B. AUTO DOOR LOCK non application
C. Shift lever gearing AUTO DOOR LOCK
D. Driver seat AUTO DOOR LOCK
E. AUTO DOOR UNLOCK non application
F. All doors UNLOCK in the case of driver door UNLOCK
G. All doors UNLOCK in the case of IGN key separation.
(4) Riding & Getting off gearing
A. Seat installation state ON/OFF
B. Seat riding & getting off gearing ON/OFF
C. Column installation state ON/OFF
D. Column riding & getting off gearing ON/OFF

Trouble Diagnostics When Using Diagnosis Tool

User Option Mode
The BCM offers 4 items user option mode for a user convenience (LOCK/UNLOCK ALARM, AUTO DOOR LOCK, GET IN & GET DOWN LINKAGE, ARM/DISARM BY KEY)
- It is able to set up the enable or disable of AUTO DOOR LOCK function or AUTO DOOR LOCK operation vehicle speed when using it.
- It is able to set up the enable or disable of enter the burglar alarm mode when using door lock by the key.
- It is able to set up the enable or disable of horn inform function when using door lock by the key or RKE.
1. Select option "GRANDEUR(TG)" and press ENTER.
2. Select option "BODY CONTROL MODULE" and press ENTER.




3. Select option "USER OPTION" and press ENTER.




4. Select option "AUTO DOOR LOCK STATUS by using the direction button(UP / DOWN).
5. Select the parameter by using the direction button(< / >) and press ENTER to save it.
(Disable / 5km/h / 10km/h / 15km/h / 20km/h / 25km/h /30km/h / 35km/h / 40km/h)




6. Select option "ARM/DISARM BY KEY(+RKE)" by using the direction button(UP / DOWN).
7. Select the parameter by using the direction button(< / >) and press ENTER to save it.
(Disable / Enable)
8. Select option "LOCK/UNLOCK ALARM" by using the direction button(UP / DOWN).
9. Select the parameter by using the direction button(< / >) and press ENTER to save it.
(Disable / Enable)
10. Select option "GET IN & GET DOWN LINKAGE" by using the direction button(UP / DOWN).
11. Select the parameter by using the direction button(< / >) and press ENTER to save it.
(Disable / Enable)

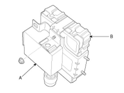
Replacement

1. Disconnect the negative (-) battery terminal.
2. Remove the crash pad lower panel (A). Avoid damaging retaining clip.




3. Remove ICM relay connector and 2 nuts.




4. Remove the body control module (A) and tilt & telescope unit after loosening 2 nuts and disconnecting connector.




5. Remove the body control module (B) from the tilt & telescope unit (A) after loosening a bolt.




6. Installation is the reverse of removal.