lemon-mirror:
Home >> Hyundai >> 2009 >> Tucson FWD V6-2.7L >> Repair and Diagnosis >> Specifications >> Mechanical Specifications >> Engine >> Cylinder Block Assembly >> System Specifications >> Main Bearing

Main Bearing





Main Bearing Cap

Install main bearing cap bolts.

NOTE:
- The main bearing cap bolts are tightened in 2 progressive steps.
- If any of the bearing cap bolts in broken or deformed, replace it.

Tightening torque
Main bearing cap bolt
M8 13 - 19 Nm (1.3 - 1.9 kgf.m, 10 - 14 lb-ft) + (90°~ 95°)
M10 27 - 33 Nm (2.7 - 3.3 kgf.m, 19.5 - 24 lb-ft) + (90°~ 95°)

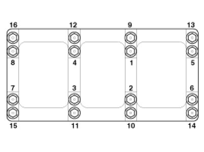
(1) Apply a light coat of engine oil on the threads and under the bearing cap bolts.
(2) Install and uniformly tighten the 16bearing cap bolts, in several passes, in the sequence shown.

Tightening torque
M8 (A) 13 - 19 Nm (1.3 - 1.9 kgf.m, 10 - 14 lb-ft)
M10 (B) 27 - 33 Nm (2.7 - 3.3 kgf.m, 19.5 - 24 lb-ft)




(3) Retighten the bearing cap bolts by 90° ~ 94° in the numerical order shown.




(4) Check that the crankshaft turns smoothly.

Main Bearing Size Codes

Place Of Identification Mark (Crankshaft Bearing)






Discrimination Of Crankshaft Bearing






Main Bearing Clearance, standard & limit