lemon-mirror:
Home >> Hyundai >> 2009 >> Tucson FWD L4-2.0L >> Repair and Diagnosis >> Specifications >> Mechanical Specifications >> Engine >> System Specifications >> Oil Pump

Oil Pump





Oil Pump

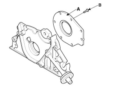
Install oil pump
(1) Place the inner and outer rotors into front case with the marks facing the oil pump cover side.
(2) Install the oil pump cover(A) to front case with the 7 screws(B).

Tightenig torque 6 - 9 Nm (0.6 - 0.9 kgf.m, 4.4 - 6.6 lb-ft)