lemon-mirror:
Home >> Hyundai >> 2009 >> Santa Fe FWD V6-2.7L >> Repair and Diagnosis >> Specifications >> Mechanical Specifications >> Engine >> System Specifications >> Main Bearing

Main Bearing





Main Bearing Caps

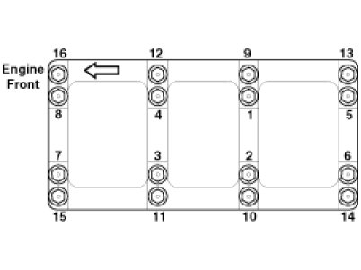
Install main bearing cap bolts.
Install and uniformly tighten the bearing cap bolts, in two steps, in the sequence shown.

Tightening torque
M8 15.7 Nm (1.6 kgf.m, 11.6 lb-ft) + 90°
M10 29.4 Nm (3.0 kgf.m, 21.7 lb-ft) + 90°

NOTE:
- Use new main bearing cap bolt with engine oil applied.
- If any of the bearing cap bolts are broken or deformed, replace it.
- Washers have their direction(Up/Down)
- Assemble the bearing cap bridge on which its arrow mark faces the engine front.
- Before tightening, make the bearing caps be seated on the block firmly.






NOTE: Use SST( 09221-4A000 ), install main bearing cap bolts.