lemon-mirror:
Home >> Hyundai >> 2009 >> Entourage V6-3.8L >> Repair and Diagnosis >> Maintenance >> Filters >> Fuel Filter >> Service and Repair

Fuel Filter: Service and Repair





Removal(including Fuel Filter And Fuel Pressure Regulator)

1. Preparation
(1) Remove the 2nd seat(s) .
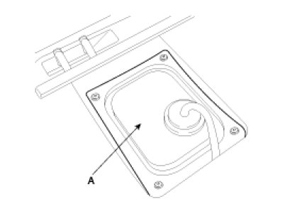
(2) Remove the Service Cover (A).




(3) Disconnect the Fuel Pump Connector (A).




(4) Start the engine and wait until fuel in fuel line is exhausted.
(5) After the engine stalls, turn the ignition switch OFF.
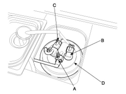
2. After disconnecting the fuel feed quick connector (A), the fuel pump connector (B) and fuel tank pressure sensor connector (C), remove the fuel pump cover (D).




3. After removing the opening nut (A), remove the fuel pump from the fuel tank.










Installation

1. Install the Fuel Pump assembly according to the reverse order of "REMOVAL" procedure.

Tightening torque:
2.0 - 2.9 N.m (0.2 - 0.3 kgf.m, 1.4 - 2.2 lb-ft)