lemon-mirror:
Home >> Hyundai >> 2009 >> Azera V6-3.3L >> Repair and Diagnosis >> Body and Frame >> Body Control Systems >> Body Control Module >> Service and Repair

Body Control Module: Service and Repair





Replacement

1. Disconnect the negative (-) battery terminal.
2. Remove the crash pad lower panel (A). Avoid damaging retaining clip.




3. Remove ICM relay connector and 2 nuts.




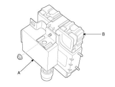
4. Remove the body control module (A) and tilt & telescope unit after loosening 2 nuts and disconnecting connector.




5. Remove the body control module (B) from the tilt & telescope unit (A) after loosening a bolt.




6. Installation is the reverse of removal.