lemon-mirror:
Home >> Hyundai >> 2007 >> Tucson FWD V6-2.7L >> Repair and Diagnosis >> Powertrain Management >> Computers and Control Systems >> Fuel Level Sensor >> Service and Repair

Fuel Level Sensor: Service and Repair

SUB FUEL SENDER

REMOVAL
1. Turn ignition switch to "OFF" and disconnect the battery negative (-) terminal.
2. Remove the rear seat cushion flame hinge bolts, and then lift the cushion.




3. Remove the service cover (B) under the carpet.




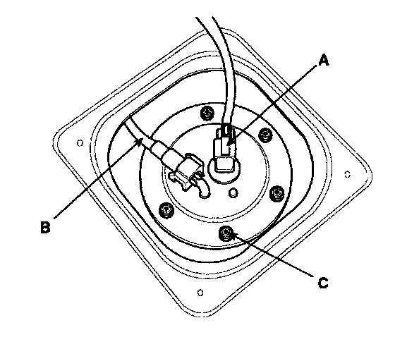
4. Disconnect the sub fuel sender wiring connector (A).
5. Disconnect the suction hose (B).
6. Remove the sub fuel sender plate mounting bolt (C).




7. Remove the sub fuel sender assembly.

INSTALLATION
1. Install the sub fuel sender according to the reverse order of "REMOVAL" procedure.