lemon-mirror:
Home >> Hyundai >> 2007 >> Santa Fe FWD V6-2.7L >> Repair and Diagnosis >> Powertrain Management >> Computers and Control Systems >> Body Control Module >> Locations >> Windshield Deicer

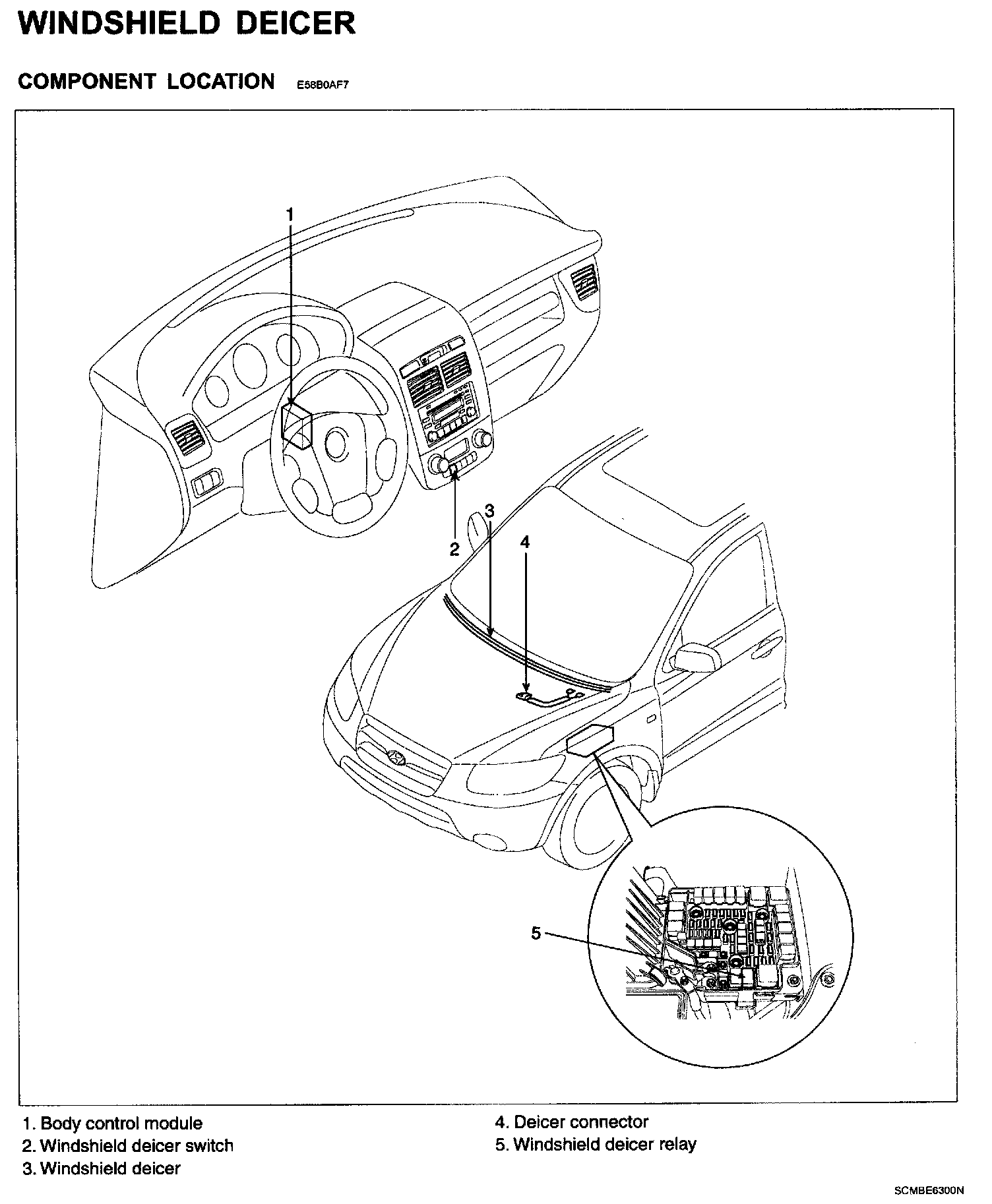
Windshield Deicer

Windshield Deicer - Component Location: