lemon-mirror:
Home >> Hyundai >> 2007 >> Azera V6-3.3L >> Repair and Diagnosis >> Powertrain Management >> Ignition System >> Ignition Coil >> Service and Repair

Ignition Coil: Service and Repair

REMOVAL

IGNITION COIL
1. Remove the engine cover.




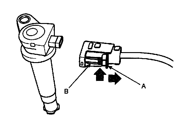
2. Disconnect the ignition coil connector (A).




NOTE: When removing the ignition coil connector, pull the lock pin (A) and push the clip (B).

3. Remove the ignition coil (B).
4. Installation is the reverse of removal.