lemon-mirror:
Home >> Hyundai >> 2006 >> Elantra L4-2.0L >> Repair and Diagnosis >> Body and Frame >> Body Control Systems >> Body Control Module >> Testing and Inspection >> Component Tests and General Diagnostics >> Complete System Testing

Complete System Testing

INSPECTION
While operating the components, check whether the operations are normal as shown in the timing chart.




1. VARIABLE INTERMITTENT WIPER




2. WASHER

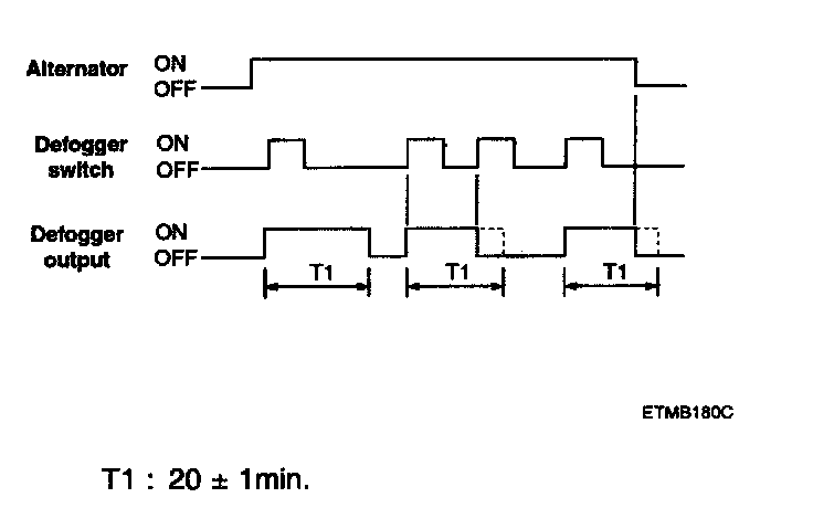
3. DEFOGGER TIMER (Including Outside Mirror Demister)
1. After ALT "L" ON, if the defogger is switched ON, the defogger output is ON for 20 minutes duration.




2. If the defogger switch is pressed again, or if the ignition is switched OFF during this time, the defogger output is OFF

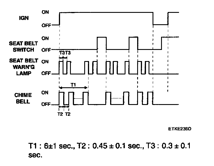
4. SEAT BELT WARNING TIMER
1) Since the ignition is switched ON, the seat belt warning indicator is illuminated (with period: 0.6 sec, duty rate: 50%) until the seat belt switch is ON and the chime bell is sounded (with period: 0.9 sec., duty rate: 50%) for 6 seconds
2) If the ignition is switched off during the indicator and the chime bell output, the indicator and the chime bell are switched OFF.
If the seat belt is sensed as fastened during the indicator and the chime bell output, the chime bell and seat belt warning indicator are switched OFF immediately.




3) When the ignition is already switched ON, if the seat belt is removed, the warning indicator is illuminated until the seat belt is fastened and the chime bell is output for 6 seconds

5. DECAYED ROOM LAMP & KEYLESS UNLOCK TIMER
1) When the first door (driver's or assist) is opened, the room lamp shall brighten. When the last door is closed, the room lamp will drop to 75% intensity, then fade out over 5-6 seconds
2) If the door switch is ON for less than 0.1 sec, then no illumination occurs.
3) The fade resolution is over 32 steps.
4) The room lamp must not flicker during fade operation, if the ignition is switched ON.




5) With keyless UNLOCK, when the door is closed, the room lamp is turned ON, then OFF after about 30 seconds While the room lamp is ON due to keyless UNLOCK, if another UNLOCK is received, the room lamp is again ON for 30 seconds
While the room lamp is ON, If the door is opened, the lamp is continued to ON. If the door is closed, the lamp follows as the above step 1.
If keyless LOCK (ARM state) is received during fade out, the room lamp is switched off immediately.

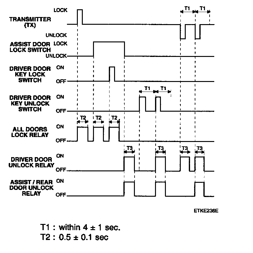
6. CENTRAL DOOR LOCK/UNLOCK
1) If the assist door is switched LOCK to UNLOCK or UNLOCK to LOCK, the all doors' lock and unlock outputs will follow.
2) If the driver's door key lock switch is OFF to ON, the all doors' lock output is ON for 0.5 second
3) If the transmitter's lock signal is received, the all doors' lock output is ON for 0.5 second
4) If the driver's door key unlock switch is OFF to ON, the driver's door unlock output is ON and then if the driver's door key unlock switch is ON within 4 seconds, the all doors' unlock output is ON for 0.5 second




5) If the transmitter's unlock signal is received, the driver's door unlock output is ON and then if the transmitter's another unlock signal is received, within 4 seconds, the all doors' unlock output is ON for 0.5 second

7. IGNITION KEY REMINDER




If the key is in the ignition and the driver's door or assist door is opened and the vehicle is locked using driver's knob or assist knob, then the central locking system will issue an unlock pulse of 1 second duration to the all doors thus preventing locking of the vehicle. (With a knob remains locked, if the switch in the actuator is not changed, the central locking shall issue 1 pulse of 1 seconds duration and 3 pulses of 0.5 second duration to unlock the vehicle.)

8. POWER WINDOW TIMER
1) When the ignition is switched ON, the power window relay output is turned ON.
2) When the ignition is switched OFF, the power window output is maintained ON for 30 seconds and then turned OFF




3) With the state of step 2, if the driver's door or assist door is opened, the output shall be turned OFF immediately.

9. DOOR OPEN WARNING
1) If the key is in the ignition key cylinder and the driver's door is opened, the chime bell sounds continually (period: 0.9 sec Duty rate: 50%).




2) If the door is closed or the key is removed, the chime stops immediately.

10. TAIL LAMP AUTO CUT
1) When the tail lamp is switched ON, if the ignition is switched OFF and the driver's door is opened, the tail lamp should be automatically OFF.
2) With the ignition switched ON, if the driver's door is opened and the ignition is switched OFF, the tail lamp should be automatically OFF.




3) When the tail lamp is cut automatically, if the tail lamp switch is turned OFF and ON, the tail lamp is illuminated and auto cut function is cancelled.

11. CRASH DOOR UNLOCK
1) With the ignition turned ON, if the air bag is deployed, a crash signal is received and send an UNLOCK output to all doors UNLOCK.




2) After UNLOCK output, when LOCK is set, UNLOCK pulse is output for 5 second period again.

12. IGNITION KEY HOLE ILLUMINATION
1) Ignition key hole illumination is turned ON when driver door or assist door is opened with ignition switch OFF.
2) Delaying "ON" state of ignition key hole illumination for 10 seconds when the door is closed in case of (1) state.
3) Ignition key hole illumination is turned off if the ignition switch turned ON in case of (1), (2) state.




4) Ignition key hole illumination is turned off if arm state is entered in case of (1), (2) state.

13. PANIC ALARM
1) If transmitter's panic signal is received, the panic alarm output is ON for 30 seconds




2) If the transmitter's panic signal is received during panic alarming, the panic alarm output will turn OFF