lemon-mirror:
Home >> Hyundai >> 2005 >> Tucson L4-2.0L >> Repair and Diagnosis >> Body and Frame >> Body Control Systems >> Body Control Module >> Testing and Inspection >> Component Tests and General Diagnostics >> Complete System Testing

Complete System Testing

INSPECTION

While operating the components, check whether the operations are normal as shown in the timing chart.




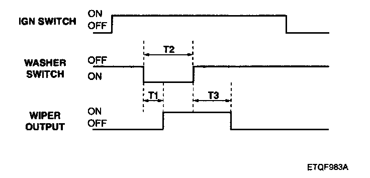
1. VARIABLE INTERMITTENT WIPER

Time specification
T1 : Max. 0.3 sec.
T2 : 0.6 - 0.8 sec. (Time of wiper motor 1 rotation)
T3 : 2.2 ± 0.2 sec. (VR = 0 kOhm - 10.0 ± 1 sec. (VR = 50 kOhm)




2. WASHER TIMER

a. Time specification
T1 : 0.3 sec.
T2 : 0.2 - 0.6 sec.
T3 : 0.6 - 0.8 sec.

b. Time specification
T1 : 0.3 sec.
T2 : 0.6 sec. or more
T3 : 2.5 - 3.8 sec.

c. Time specification
T1 : 0.3 sec.
T2 : 0.2 sec. or less
T3 : 0 sec.

d. This function should be operated preferentially even though the variable intermittent wiper is operating.

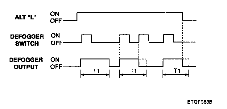
3. REAR DEFOGGER TIMER

1. After ALT "L" ON, if the defogger is switched ON, the defogger output is ON for 20 minutes duration.




2. If the defogger switch is pressed again, or if the ignition is switched OFF during this time, the defogger output is OFF.

T1 : 20 ± 1 min

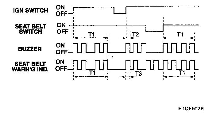
4. SEAT BELT WARNING TIMER

1. Since the ignition is switched ON, the seat belt warning indicator is illuminated (with period : 0.6 sec., duty rate : 50%) and the buzzer is sounded (with period : 0.9 sec., duty rate : 50%) for total time 6 seconds.
2. If the ignition is switched off during the indicator and the buzzer output, the indicator and the buzzer are switched OFF.
If the seat belt is sensed as fastened during the indicator and the buzzer output, the buzzer is switched OFF immediately and the seat belt warning indicator is illuminated for the remained seconds.




3. When the ignition is already switched ON, if the seat belt is removed, the warning indicator and the buzzer are output for total time 6 seconds.

T1 : 6 ± 1 sec.
T2 : 0.45 ± 0.1 sec.
T3 : 0.3 ± 0.1 sec.

5. DECAYED ROOM LAMP & KEYLESS UNLOCK TIMER

1. When the first door (driver's or assist, or rear door) is opened, the room lamp shall brighten. When the last door is closed, the room lamp will drop to 75% intensity, then fade out over 5 - 6 seconds.
2. If the door switch is ON for less than 0.1 sec., then no illumination occurs.
3. The fade resolution is over 32 steps.
4. The room lamp must not flicker during fade operation, if the ignition is switched ON.




5. With keyless UNLOCK, when the door is closed, the room lamp is turned ON, then OFF after about 30 seconds. While the room lamp is ON due to keyless UNLOCK, if another UNLOCK is received, the room lamp is again ON for 30 seconds.
While the room lamp is ON, If the door is opened, the lamp is continued to ON. If the door is closed, the lamp follows as the above step 1.
If keyless LOCK (ARM state) is received during fade out, the room lamp is switched off immediately.

T1 : 5.5 ± 0.5 sec.
T2 : 30 ± 3 sec.

6. LOCK/UNLOCK BY DOOR KEY & KEYLESS

1. When the driver or assist door key LOCK switch is ON, the door LOCK relay is ON for T2.
2. When the transmitter's LOCK signal is detected, the door lock relay is ON for T2.
3. The assist door key UNLOCK switch is ON, both the driver and assist door UNLOCK relay is ON for T3.
4. The driver's door key UNLOCK switch is ON, the driver door is open.
- In case the driver's door key UNLOCK switch is ON again during T1, the 4 door UNLOCK relay is ON for T3.
- When the driver's door key UNLOCK switch is ON during T1 after the transmitter's UNLOCK signal is detected, the 4 door UNLOCK relay is ON for T3.




5. If the LOCK signal is detected during T1, 2 step unlock system is canceled.

T1 : 4 s
T2 : 0.5 s
T3 : 0.5 s

7. IGNITION KEY REMINDER




If the key is in the ignition and the driver's door or assist door is opened and the vehicle is locked using driver's knob or assist knob, then the central locking system will issue an unlock pulse of 1 second duration to the all doors thus preventing locking of the vehicle. (With a knob remains locked, if the switch in the actuator is not changed, the central locking shall issue 1 pulse of 1 seconds duration and 3 pulses of 0.5 second duration to unlock the vehicle.)

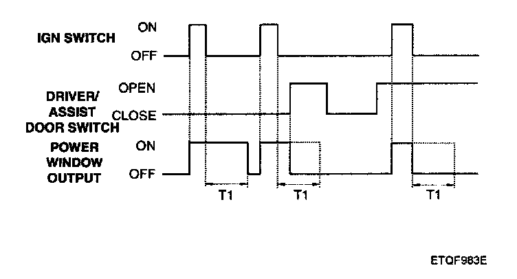
8. POWER WINDOW TIMER

1. When the ignition is switched ON, the power window relay output is turned ON.
2. When the ignition is switched OFF, the power window output is maintained ON for 30 seconds and then turned OFF.




3. With the state of step 2, if the driver's door or assist door is opened, the output shall be turned OFF immediately.

T1 : 30 ± 3 sec.

9. DOOR OPEN WARNING

1. If the key is in the ignition key cylinder and the driver's door is opened, the buzzer sounds continually (period:0.9 sec. Duty rate:50%).




2. If the door is closed or the key is removed, the chime stops immediately.

10. TAIL LAMP AUTO CUT

1. When the tail lamp is switched ON, if the ignition is switched OFF and the driver's door is opened, the tail lamp should be automatically OFF.
2. With the ignition switched ON, if the driver's door is opened and the ignition is switched OFF, the tail lamp should be automatically OFF.




3. When the tail lamp is cut automatically, if the tail lamp switch is turned OFF and ON, the tail lamp is illuminated and auto cut function is cancelled.

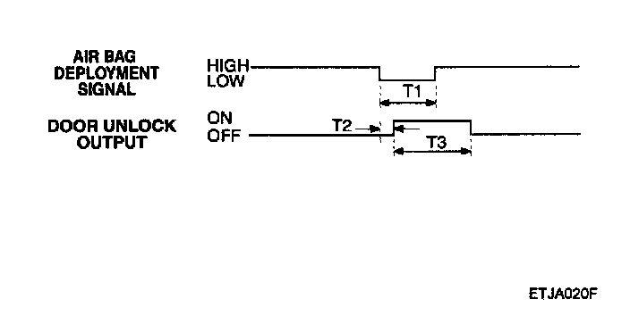
11. CRASH DOOR UNLOCK

1. With the ignition turned ON, if the air bag is deployed, a crash signal is received and send an UNLOCK output to all doors UNLOCK.




2. After UNLOCK output, when LOCK is set, UNLOCK pulse is output for 5 second period again.

T1 : 200 msec.
T2 : 40 msec.
T3 : 5 ± 0.5 sec.

12. IGNITION KEY HOLE ILLUMINATION

1. Ignition key hole illumination is turned ON when driver door or assist door is opened with ignition switch OFF.
2. Delaying "ON" state of ignition key hole illumination for 10 seconds when the door is closed in case of (1) state.
3. Ignition key hole illumination is turned off if the ignition switch turned ON in case of (1), (2) state.




4. Ignition key hole illumination is turned off if arm state is entered in case of (1), (2) state.

T1 : 10 ± 1 sec.
T2 : 0 - 10 sec.

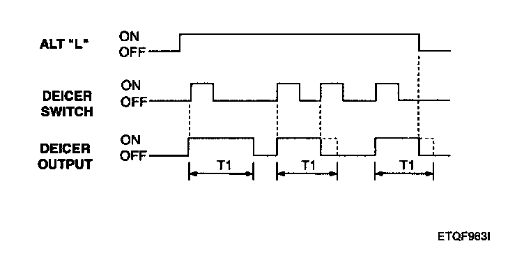
13. WINDSHIELD DEICER TIMER

1. After ALT "L" ON, the windshield deicer is switched ON, the deicer relay output is ON for 20 minutes duration.




2. If the windshield deicer switch is pressed again, or if the ignition is switched OFF during this time, the deicer output is OFF.

T1 : 20 ± 1 min.

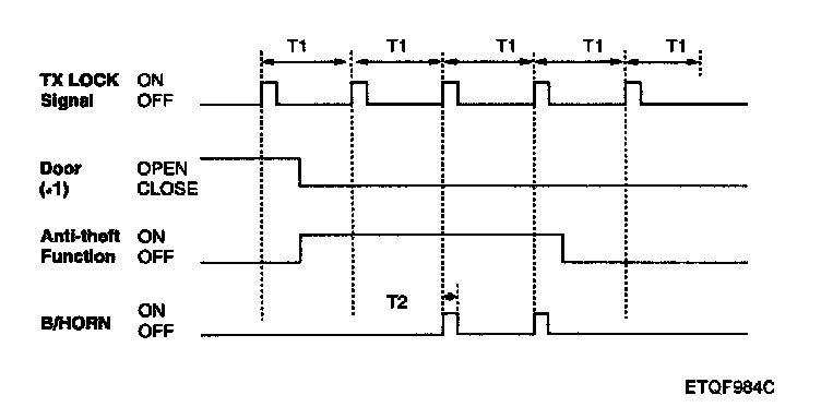
14. HORN ANSWER BACK

1. If "LOCK" button of the transmitter is pushed, when 4 doors are closed, the burglar alarm horn operates for 'T2', 4 secs(T1) after engaging "LOCK" button.




2. The burglar alarm horn does not operate when cancelling the anti-theft function during T1.

NOTE: The output related to both DOOR LOCK and HAZARD are not shown in the chart.

T1 : 4 s, T2: 0.05 s ± 0.01 s