lemon-mirror:
Home >> Hyundai >> 2004 >> XG 350 V6-3.5L >> Repair and Diagnosis >> Powertrain Management >> Computers and Control Systems >> Body Control Module >> Testing and Inspection >> Initial Inspection and Diagnostic Overview

Initial Inspection and Diagnostic Overview

INSPECTION
While operating the components, check whether the operations are normal as shown in the timing chart.




1. VEHICLE SPEED SENSING INTERMITTENT WIPER

2. WIPER MIST & WIPER RELATED TO WASHER







This function should be operated preferentially even though the variable intermittent wiper is operating.

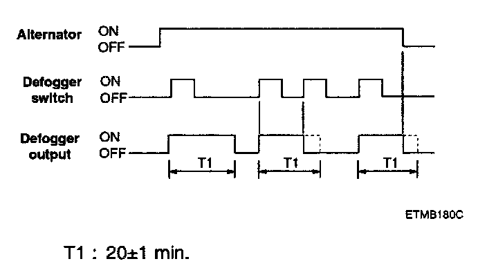
3. REAR DEFOGGER TIMER
1. After ALT "L" ON, if the defogger is switched ON, the defogger output is ON for 20 minutes duration.




2. If the defogger switch is pressed again, or if the ignition is switched OFF during this time, the defogger output is OFF

4. SEAT BELT WARNING TIMER
1. Since the ignition is switched ON, the seat belt warning indicator is illuminated (with period 0.6 sec, duty rate: 50%) and the chime bell is sounded (with period: 0.9 sec, duty rate: 50%) for total time 6 seconds
2. If the ignition is switched off during the indicator and the chime bell output, the indicator and the chime bell are switched OFF
If the seat belt is sensed as fastened during the indicator and the chime bell output, the chime bell is switched OFF immediately and the seat belt warning indicator is illuminated for the remained time.




3. When the ignition is already switched ON, if the seat belt is removed, the warning indicator and the chime bell are output for total time 6 seconds

5. DECAYED ROOM LAMP & KEYLESS UNLOCK TIMER
1. When the first door (driver's or assist) is opened, the room lamp shall brighten. When the last door is closed, the room lamp will drop to 75% intensity, then fade out over 5-6 seconds
2. If the door switch is ON for less than 0.1 sec., then no illumination occurs.
3. The fade resolution is over 32 steps.
4. The room lamp must not flicker during fade operation, if the ignition is switched ON.




5. With keyless UNLOCK. when the door is closed, the room lamp is turned ON, then OFF after about 30 seconds While the room lamp is ON due to keyless UNLOCK, if another UNLOCK is received, the room lamp is again ON for 30 seconds

While the room lamp is ON, If the door is opened, the lamp is continued to ON. If the door is closed, the lamp follows as the above step 1.
If keyless LOCK (ARM state) is received during fade out, the room lamp is switched off immediately.

6. DOOR OPEN WARNING
1. If the key is in the ignition key cylinder and the driver's door is opened, the chime bell sounds continually (period: 0.9 sec Duty rate: 50%).




2. If the door is closed or the key is removed, the chime stops immediately.

7. TAIL LAMP AUTO CUT
1. When the tail lamp is switched ON, if the ignition key switch is OFF and the driver's door is opened, the tail lamp should be automatically OFF.
2. With the ignition key switch ON, if the driver's door is opened and the ignition key switch is OFF, the tail lamp should be automatically OFF




3. When the tail lamp is cut automatically, if the tail lamp switch is turned OFF and ON, the tail lamp is illuminated and auto cut function is cancelled.

8. IGNITION KEY HOLE ILLUMINATION
1. Ignition key hole illumination is turned on when door is opened (at ignition switch "OFF").
2. Delaying "ON" state of ignition key hole illumination for 10 sec. when the door is closed in case of No.1) state.
3. The ignition key hole illumination is turned off if the ignition input is accepted in case of No.1), 2) state




4. The ignition key hole illumination is turned OFF if arm state is entered in case of No.1), 2) state.

9. TRUNK OPEN CONTROL
1. When the trunk data by transmitter is received, trunk lid relay is on for 500 ms for opening trunk.
2. Alarm hold function. Refer to [anti-theft] function.

10. POWER WINDOW CONTROL




1. POWER WINDOW TIMER
a. When the ignition is switched ON, the power window relay output is turned ON.
b. When the ignition is switched OFF the power window output is maintained ON for 30 seconds and then turned OFF.
c. With the state of step (b), if the driver's door or assist door is opened, the output shall be turned OFF immediately.

2. POWER WINDOW LOCK




a. In the case of received power window lock signal request by communication data, rear power window relay power is cut.
b. Power window up or down is not operate in rear for cutting power.
c. If the power window relay timer is off in 1), rear power window relay power is cut.

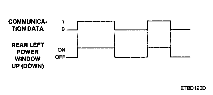
3. REAR LEFT POWER WINDOW




a. In the case of received rear left power window up signal request by communication data, up (down) output is given.
b. When rear left power window up or down request occurred in the same time, either up and down output is not given.

4. REAR RIGHT POWER WINDOW




a. In the case of received rear right power window up signal request by communication data, up (down) output is given.
b. When rear right power window up or down request occurred in the same time, either up and down output is not given.