lemon-mirror:
Home >> Hyundai >> 2004 >> Sonata L4-2.4L >> Repair and Diagnosis >> Powertrain Management >> Computers and Control Systems >> Throttle Position Sensor >> Testing and Inspection

Throttle Position Sensor: Testing and Inspection





THROTTLE POSITION SENSOR (TPS)
The TPS is a variable resistor type that rotates with the throttle body throttle shaft to sense the throttle valve angle. As the throttle shaft rotates, the output voltage of the TPS changes. The ECM detects the throttle valve opening based on voltage change.

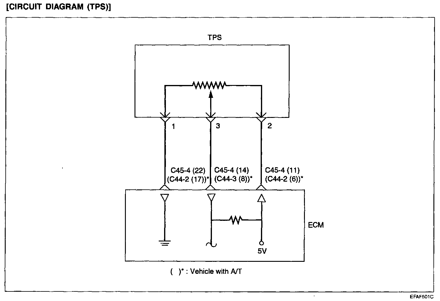
Circuit Diagram (TPS):






Harness Connector:






Sensor Checking:






Using voltmeter
1. Disconnect the throttle position sensor connector.

Throttle Position Sensor Side Connector:




2. Measure resistance between terminal 1 (sensor ground) and terminal 2 (sensor power)
Standard value: 1.6 - 2.4 kOhms

3. Connect a pointer type Ohmmeter between terminal 1 (sensor ground) and terminal 2 (sensor output).
4. Operate the throttle valve slowly from the idle position to the full open position and check that the resistance changes smoothly in proportion with the throttle valve opening angle.
5. If the resistance is out of specification, or fails to change smoothly, replace the throttle position sensor.

Tightening torque: 1.5 - 2.5 Nm (15 - 25 kg.cm, 1.1 - 1.8 lb.ft)

TROUBLESHOOTING HINTS
The TPS signal is important in the control of the automatic transaxle. Shift shock and other trouble will occur if the sensor is faulty.


Harness Inspection Procedures (TPS):






THROTTLE POSITION SENSOR (TPS) ADJUSTMENT




1. Connect a HI-SCAN to the data link connector.
2. If a HI-SCAN is not used, connect a digital type voltmeter between connector 1 and 3.




3. Turn the ignition switch to the ON position (do not start engine) and check that the TP Sensor output voltage is as specified. If a HI-SCAN is used, read the voltage.
Standard value: 300 - 900 mV




4. If it is out of specification, loosen TP Sensor mounting screws and adjust by turning the TP Sensor.

NOTE:
- Turning the TP Sensor clockwise increases the output voltage.
- Tighten the screws securely after adjustment.

5. Turn the ignition switch to the OFF position.