lemon-mirror:
Home >> Hyundai >> 2003 >> Tiburon L4-2.0L >> Repair and Diagnosis >> Body and Frame >> Body Control Systems >> Body Control Module >> Testing and Inspection >> Component Tests and General Diagnostics >> Power Windows Function

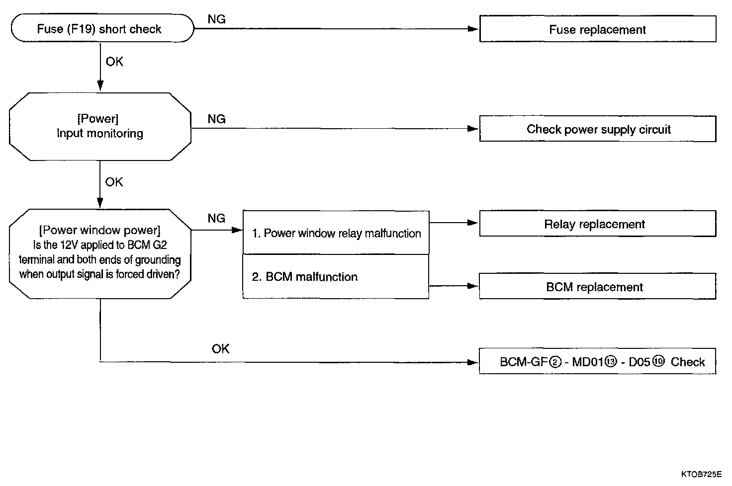
Power Windows Function

POWER WINDOW

1. Input/output signal
- Fuse : F19 (30 A)
- Output: Power window output (G2)

2. Related schematic diagrams
- See the Power Windows.


3. Input/output signal
- Fuse: F19 (30 A)
- Output: Power window output (G2)







4. Related Hi-scan(pro) failure diagnosis
1. Input/output monitoring
1. Select "01.POWER" and press [ENTER] Then the following screen will be displayed.

Check BCM input condition against key state -ON or ST, key state - ON.







2. Select "07 ETC" and press [ENTER]. Then, the following screen will be displayed.

Check output condition against power window relay.







2. Actuator inspection
Select "02 OUTPUT ACTUATION" and press [ENTER].
Perform forced drive against power window power supply.

5. Expected failure symptoms
Power is not supplied to power window switch.

NOTE: As for the power window motor malfunction, refer to power window motor circuit.




6. Actions by failure symptoms
Power is not supplied to power window switch.