lemon-mirror:
Home >> Hyundai >> 2003 >> Elantra L4-2.0L >> Repair and Diagnosis >> Powertrain Management >> Computers and Control Systems >> Throttle Position Sensor >> Testing and Inspection

Throttle Position Sensor: Testing and Inspection




THROTTLE POSITION SENSOR (TPS)
The TP Sensor is a rotating type variable resistor that rotates with the throttle body's throttle shaft to sense the throttle valve angle. As the throttle shaft rotates, the throttle angle of the TP Sensor changes and the ECM detects the throttle valve opening based on the TPS output voltage.

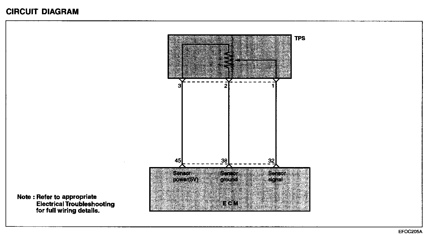
Circuit Diagram:






TROUBLESHOOTING HINTS
1. The TPS signal is important for the control of automatic transaxles. Shift shock and other trouble may occur if the sensor is faulty.
2. If engine idle or acceleration is abnormal, check the TPS connector. (When the TPS connector is not connected properly, the current data on HI-SCAN (Pro) can show that the idle state remains off, although the accelerator pedal is released. This results in the improper idle or acceleration.)
3. Input voltage from throttle position sensor is below 0.1 V or above 4.7 V when ignition switch is turned on.

Using Voltmeter Or Hi-Scan (Pro):






Harness Inspection Procedures:






SENSOR INSPECTION
1. Disconnect the throttle position sensor connector.
2. Measure the resistance between terminals 2 (sensor ground) and terminal 3 (sensor power).

Standard value : 0.7 - 3.0 kOhm

3. Connect an analog ohmmeter between terminals 2 (sensor ground) and terminal 1 (sensor output).
4. Operate the throttle valve slowly from the idle position to the full open position, and check that the resistance changes smoothly in proportion with the throttle valve opening angle.




5. If the resistance is out of specification, or fails to change smoothly, replace the throttle position sensor.

Tightening torque
Throttle position sensor: 1.5 - 2.5 N.m (15 - 25 kg.cm, 1.1 - 1.8 lb.ft)