lemon-mirror:
Home >> Hyundai >> 2003 >> Accent L4-1.6L >> Repair and Diagnosis >> Powertrain Management >> Computers and Control Systems >> Engine Control Module >> Testing and Inspection >> Component Tests and General Diagnostics

Component Tests and General Diagnostics

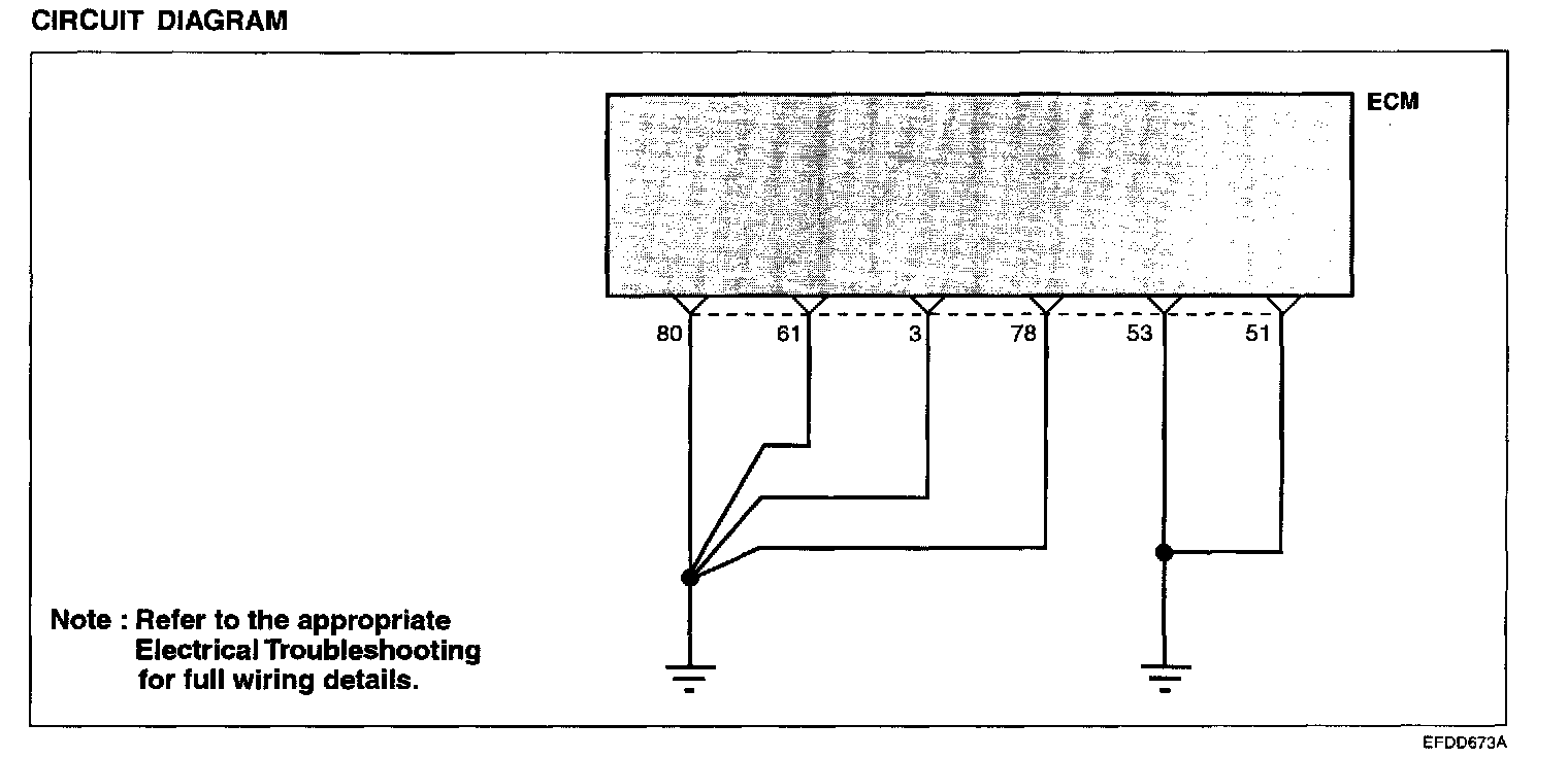
ENGINE CONTROL MODULE (ECM) - POWER GROUND

Check the ground condition of the engine control module.





Circuit Diagram:






Harness Inspection Procedure: