lemon-mirror:
Home >> Hyundai >> 2003 >> Accent L4-1.6L >> Repair and Diagnosis >> Power and Ground Distribution >> Timer/Control Unit >> Testing and Inspection

Timer/Control Unit: Testing and Inspection

INSPECTION
While operating the components, check whether the operations are normal as shown in the timing chart.




1. VEHICLE SPEED SENSING INTERMITTENT WIPER

Time specification
T1 : Max. 0.5 sec.
T2 : 0.6-0.7 sec. (Time of wiper motor 1 rotation)
T3 : At vehicle speed = 0 km/h.
2.6±0.7 sec. (VR=0 KOhm)- 18.0±1 sec (VR=50 KOhm)
At vehicle speed = 100 km/h or more.
1.0±0.2sec (VR=0 KOhm)- 10.0±1sec (VR=50 KOhm)




2. WASHER

a. Time specification
T1 : 0.3 sec.
T2 : 0.6 - 0.8 sec.
T3 : 0.2 - 0.6 sec.

b. Time specification
T1 : 0.3 sec.
T2 : 2.5 - 3.8 sec.
T3 : 0.6 sec. or more

c. This function should be operated preferentially even though the variable intermittent wiper is operating.




3. DEFOGGER TIMER (Including Outside Mirror Demister)

1. After ALT "L" ON, if the defogger is switched ON, the defogger output is ON for 20 minutes duration.
2. If the defogger switch is pressed again, or if the ignition is switched OFF during this time, the defogger output is OFF

T1 : 20 ± 1 min.




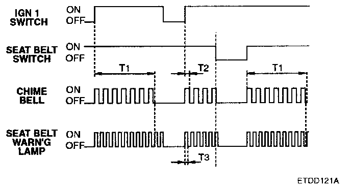
4. SEAT BELT WARNING TIMER

1. Since the ignition is switched ON, the seat belt warning indicator is illuminated infinitely (with period : 0.6 sec., duty rate : 50%) and the chime bell is sounded (with period : 0.9 sec., duty rate 50%) for total time 6 seconds.
2. If the ignition is switched off during the indicator and the chime bell output, the indicator and the chime bell are switched OFF.
If the seat belt is fastened during the indicator and the chime bell output, the indicator and the chime bell are switched OFF immediately.
3. When the ignition is already switched ON, if the seat belt is not fastened, the chime bell is sounded for 6 second and the warning indicator is illuminated infinitely.

T1 : 6 ± 1 sec, T2 : 0.45 ± 0.1 sec, T3 : 0.3 ± 1 sec.




5. DECAYED ROOM LAMP & KEYLESS UNLOCK TIMER

1. When the first door (driver's or assist) is opened, the room lamp shall brighten. When the last door is closed, the room lamp will drop to 75% intensity, then fade out over 5-6 seconds.
2. If the door switch is ON for less than 0.1 sec., then no illumination occurs.
3. The fade resolution is over 32 steps
4. The room lamp must not flicker during fade operation, if the ignition is switched ON
5. With keyless UNLOCK, when the door is closed, the room lamp is turned ON, then OFF after about 30 seconds. While the room lamp is ON due to keyless UNLOCK, if another UNLOCK is received, the room lamp is again ON for 30 seconds.
While the room lamp is ON, If the door is opened, the lamp is continued to ON. If the door is closed, the lamp follows as the above step 1.
If keyless LOCK (ARM state) is received during fade out, the room lamp is switched off immediately.

T1 : 5.5 ± 0.5 sec, T2 : 30 ± 3 sec.




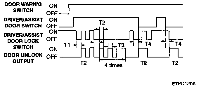
6. CENTRAL DOOR LOCK/UNLOCK

1. If transmitter(TX) lock or key lock signal is received, all door lock output is ON.
2. With driver door lock state, if TX unlock or key unlock signal is received, only driver door unlock output is ON.
3. Within 4 sec. since final unlock signal, it TX unlock or key unlock signal is received again, all doors unlock output is ON at driver door unlock state.
If the time (4 sec.) elapse, only driver door unlock output is ON.
4. Using safety knob, possible to central door lock/unlock.
5. Door key unlock switch is applied to driver door, assist door and tailgate.

T1 : 0.5 ± 0.1sec.
T2 : Max 4 sec.
T3 : Min 4 sec.




7. IGNITION KEY REMINDER
If the key is in the ignition and the driver's door or assist door is opened and the vehicle is locked using driver's knob or assist knob, then the central locking system will issue an unlock pulse of 1 second duration to the all doors thus preventing locking of the vehicle. (With a knob remains locked, if the switch in the actuator is not changed, the central locking shall issue 1 pulse of 1 seconds duration and 3 pulses of 0.5 second duration to unlock the vehicle.)

T1,T3 : 0.5 sec, T2 : 1 sec,T4 : Max 0.5 sec.




8. POWER WINDOW TIMER

1. When the ignition is switched ON, the power window relay output is turned ON.
2. When the ignition is switched OFF; the power window output is maintained ON for 30 seconds and then turned OFF.
3. With the state of step 2, if the driver's door or assist door is opened, the output shall be turned OFF immediately.

T1 : 30 ± 3 sec.




9. DOOR OPEN WARNING

1. If the key is in the ignition key cylinder and the driver's door is opened, the chime bell sounds continually (period: 0.9 sec. Duty rate:50%).
2. If the door is closed or the key is removed, the chime stops immediately.

T1, T2 :0.45 ± 0.1 sec.




10. TAIL LAMP AUTO CUT
1. When the tail lamp is switched ON, if the ignition is switched OFF and the driver's door is opened, the tail lamp should be automatically OFF.
2. With the ignition switched ON, if the driver's door is opened and the ignition is switched OFF, the tail lamp should be automatically OFF.
3. When the tail lamp is cut automatically, if the tail lamp switch is turned OFF and ON, the tail lamp is illuminated and auto cut function is cancelled.




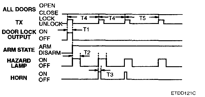
11. CRASH DOOR UNLOCK

1. With the ignition turned ON, if the air bag is deployed, a crash signal is received and send an UNLOCK output to all doors UNLOCK.
2. After UNLOCK output, when LOCK is set, UN-LOCK pulse is output for 5 second period again.

T1 : 200 msec
T2 : 40 msec
T3 : 5 ± 0.5 sec




12. TX LOCK TWO TIMES FUNCTION
With transmitter(TX) lock(arm) state, if TX lock signal is received again within 4 sec. since final TX lock signal, horn alarms once for 0.05 sec

T1 : 5 ± 0.5 sec
T2 : 1 ± 0.2 sec
T3 : 0.05 sec
T4 : Max. 4 sec
T5 : Min. 4 sec




13. PANIC ALARM

1. If panic switch is ON, horn output keeps ON for 30 sec and if panic switch is ON again, horn output is OFF
2. Panic mode is not affected at arm or disarm state.
3. While panic is operating, arm or disarm function operates.

T1 : 30 ± 1 sec.