lemon-mirror:
Home >> Hyundai >> 2002 >> Santa Fe L4-2.4L >> Repair and Diagnosis >> Maintenance >> Brake Bleeding >> Service and Repair

Brake Bleeding: Service and Repair

BLEEDING THE BRAKE SYSTEM
1. Remove the reservoir cap and fill the brake reservoir with brake fluid.





CAUTION: Do not allow brake fluid to remain on a painted surface. Wash it off immediately.

2. Connect a vinyl tube to the wheel cylinder bleeder plug and insert the other end of the tube in a container of brake fluid which is half full.
3. Start the engine.
4. Slowly depress the brake pedal several times.





5. While depressing the brake pedal fully, loosen the bleeder plug until fluid runs out. Then close the bleeder screw and release the brake pedal.
6. Repeat steps 4 and 5 until there are no more bubbles in the fluid.
7. Tighten the bleeder plug screw.
Bleeder screw tightening torque
7 - 9 Nm (70 - 90 kg-cm, 5 - 6.6 ft. lbs.)





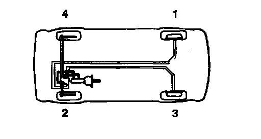
8. Repeat the above procedure for each wheel in the sequence shown in the illustration.