lemon-mirror:
Home >> Hyundai >> 2002 >> Accent GL Hatchback L4-1.6L >> Repair and Diagnosis >> Power and Ground Distribution >> Timer/Control Unit >> Testing and Inspection

Timer/Control Unit: Testing and Inspection

ELECTRONIC TIME & ALARM CONTROL MODULE

Check that the following components operate normally as per the timing chart.




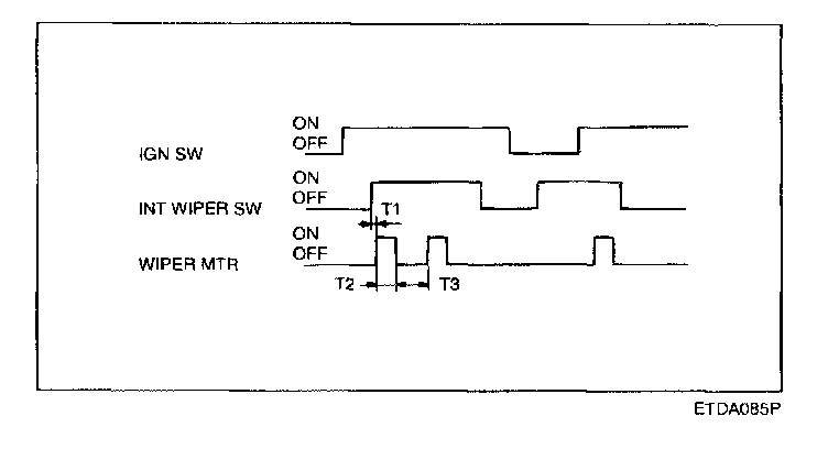
1. Variable Intermittent Wiper
1. T1: 0.3 sec MAX.
2. T2: 0.6 - 0.7 sec. (Time of wiper motor 1 rotation)
3. T3: 1.5 ± 0.5 sec. (at VR = 0 ohm) - 11 ±1 sec. (at VR = 500 kohm)




2. Wiper Motor Related to Washer
1. T1: 0.6 ± 0.1 sec.
2. T2: 2.5 - 3.8 sec.
3. T3: 0.2 - 0.6 sec. (Mist function)
4. T4: 0.6 ± 0.1 sec.
5. This function should operate preferentially even though the variable intermittent wiper is operating.




3. Rear Defogger Timer
1. T1: 20 ± 3 min




4. Seat Belt Warning
1. T1: 6 ±1 sec.
2. T2 : 0.45 ±0.1 sec.
3. T3: 0.3 ± 0.1 sec.




5. Key Operated Warning (Chime bell does not operate in EC region)
1. T1, T2: 0.45 ± 0.1 sec.




6. Central Door Lock/Unlock
1. T1: 0.5 ± 0.1 sec.




7. Ignition key Reminder
1. T1: 0.5 sec.
2. T2: 1 sec.
3. T3: 0.5 sec.