lemon-mirror:
Home >> Hyundai >> 2000 >> Sonata L4-2.4L >> Repair and Diagnosis >> Power and Ground Distribution >> Timer/Control Unit >> Testing and Inspection

Timer/Control Unit: Testing and Inspection

ELECTRONIC TIME AND ALARM CONTROL MODULE

OPERATION CHECK OF COMPONENTS
While operating the components, check whether the operations are normal with timing chart.

ETACS FUNCTION




1. Variable intermittent wiper
Time specification
T1 : Max. 0.7 sec.
T2 : Time of wiper motor 1 rotation.
T3 : 1.5±0.7 sec. (VR = 0 kOhms) 10.5 ± 3 sec. (VR = 50 kOhms)




2. Washer
1. Time specification
T1 : 0.6 sec
T2 : 2.5 - 3.8 sec

2. This function should be operated preferentially even though the variable intermittent wiper is operating.




3. Rear window defogger
Time specification
T1 : 20 ±3 Min.




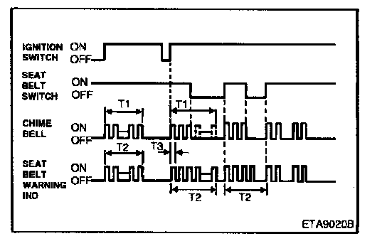
4. Seat belt warning
Time specification
T1, T2 : 6 ± 1 sec.
T3: 0.3 ± 0.1 sec.




5. Ignition key hole illumination
Time specification
T1: 10 ± 2 sec.
T 2 :0 - 10 Sec.




6. Delayed out room lamp
Time specification
T 1: 2 ± 0.5 sec.
T 2: 4 ± 1 sec.
T 3 : 0 - 6 sec.




7. Door warning
Time specification
T1, T2 : 0.3 ± 0.1 sec.




8. Ignition key reminder
Time specification
T1 : 5.0 sec.




9. Door key illumination
Time specification
T1 : 10 sec.




10. Power window timer
Time specification
T1 : 30 ± 5 Sec.




11. Central door lock/unlock (without burglar alarm)
Time specification
T : 0.5 ± 0.1 Sec.

12. Central door lock/unlock (without burglar alarm)




1. When using the door key Time specification
T : 0.5 ± 0.1 sec.




2. When using the door lock switch Time specification
T : 0.5 ± 0.1 sec.




3. When using the transmitter(TX) Time specification
T : 0.5 ± 0.1 sec.