lemon-mirror:
Home >> Hyundai >> 1999 >> Tiburon L4-2.0L >> Repair and Diagnosis >> Powertrain Management >> Computers and Control Systems >> Main Relay (Computer/Fuel System) >> Testing and Inspection

Main Relay (Computer/Fuel System): Testing and Inspection




CIRCUIT DIAGRAM







HARNESS INSPECTION PROCESSOR

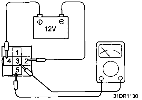
MFI CONTROL RELAY INSPECTION














1. Check continuity of relay contacts between terminal 4 (+) and 2 (-).
2. If faulty, replace the MFI control relay.
Tightening Torque
MFI control relay 7 - 11 Nm (7 - 110 kg.cm, 5.2 - 8.1 lb.ft)