lemon-mirror:
Home >> Hyundai >> 1998 >> Tiburon L4-1.8L >> Repair and Diagnosis >> Power and Ground Distribution >> Timer/Control Unit >> Testing and Inspection

Timer/Control Unit: Testing and Inspection

Check that the following components operates normally as timing chart.

Variable Intermittent Wiper




1. T1 : 0.15 sec. MAX.
2. T2 : 0.7 sec. (Time of wiper motor 1 rotation)
3. T3 : 1.5 ± 0.7 sec. (at VR=0 Ohms) - 10.5 ± 1 sec. (at VR=500 K Ohms)

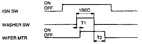
Wiper Motor Related to Washer




1. T1 : 0.15 sec.
2. T2 : 2.5 - 3.8 sec.
3. This function should be operated preferentially even though the variable intermittent wiper is operating.

Rear Defogger Timer




1. T1 : 0.1 sec. MAX.
2. T2 : 15 ± 3 min.

Seat Belt Warning




1. Operating characteristic
2. T1 : 6 ± 1 sec. T2 : MAX. 6 ± 1 sec. T3, T4: 0.3 ± 0.1 sec.

Door Warning




1. Operating characteristic
2. T1, T2 : 0.3 ± 0.1 sec.

Central Door Lock/Unlock




1. Operating characteristic
2. T1 : 0.5 ± 0.1 sec.

Ignition key reminder




1. Operating characteristic
2. T1 : 0.5 sec. T2 : 1 sec. T3 : 0.5 sec. T4 : Max. 0.5 sec.