lemon-mirror:
Home >> Hyundai >> 1998 >> Sonata L4-2.0L >> Repair and Diagnosis >> Power and Ground Distribution >> Timer/Control Unit >> Testing and Inspection >> Operation Check of Components

Operation Check of Components

While operating the components, check whether the operations are normal with timing chart.




Variable intermittent wiper
1. Time specification
- T1 : Max. 0.7 sec.
- T2 : Time of wiper motor 1 rotation
- T3 : 1.5 ± 0.7 sec. (VR = 0 K Ohms) - 10.5 ± 3 sec. (VR=50 K Ohms)




Washer
1. Time specification
- T1 : 0.6 sec.
- T2 : 2.5 - 3.8 sec.
2. This function should be operated preferentially even though the variable intermittent wiper is operating.




Rear window defogger
1. Time specification
- T1 : Min. 0.5 sec.
- T2 : 15 ± 3 min.




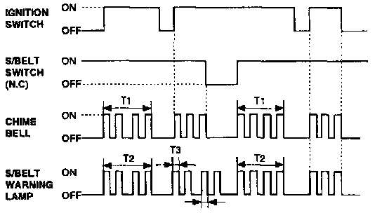
Seat belt warning
1. Time specification
- T1, T2 : 6 ± 1 sec.
- T3, T4 : 0.3 ± 0.1 sec.




Ignition key hole illumination
1. Time specification
- T1 : 10 ± 2 sec.
- T2 : 0 - 10 sec.




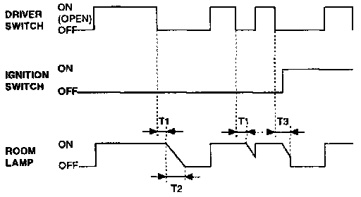
Decayed out room lamp
1. Time specification
- T1 : 2 ± 0.5 sec.
- T2 : 4 ± 1 sec.
- T3 : 0 - 6 sec.




Door warning
1. Time specification
- T1, T2: 0.3 ± 0.1 sec.




Ignition key reminder
1. Time specification
- T1 : 5.0 sec.




Door key illumination
1. Time specification
- T1 : 10 sec.




Power window
1. Time specification
- T1 : 30 ± 5 sec.