lemon-mirror:
Home >> Hummer >> 2009 >> H2 V8-6.2L >> Repair and Diagnosis >> Power and Ground Distribution >> Fuse >> Locations >> Instrument Panel Fuse Block

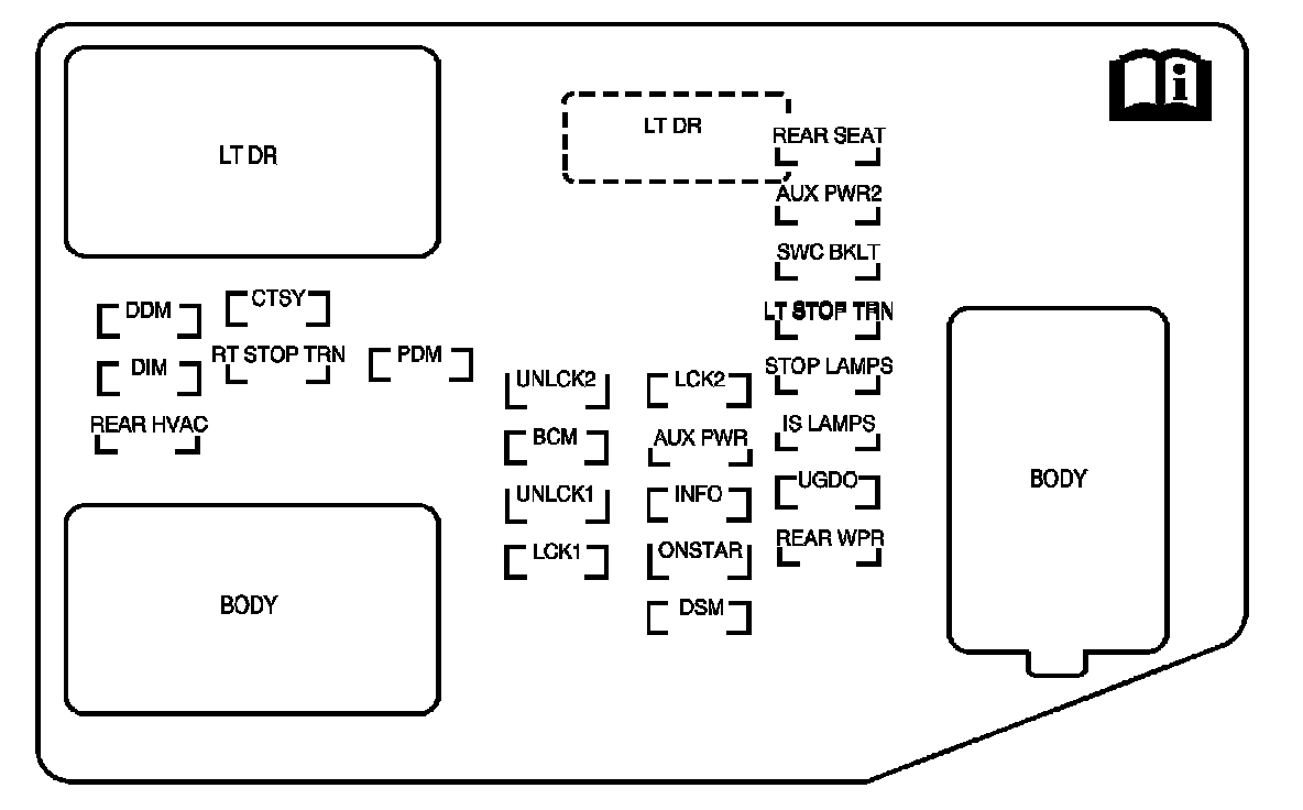
Instrument Panel Fuse Block