lemon-mirror:
Home >> Hummer >> 2007 >> H2 V8-6.0L >> Repair and Diagnosis >> Transmission and Drivetrain >> Transfer Case >> Control Module >> Locations

Control Module: Locations



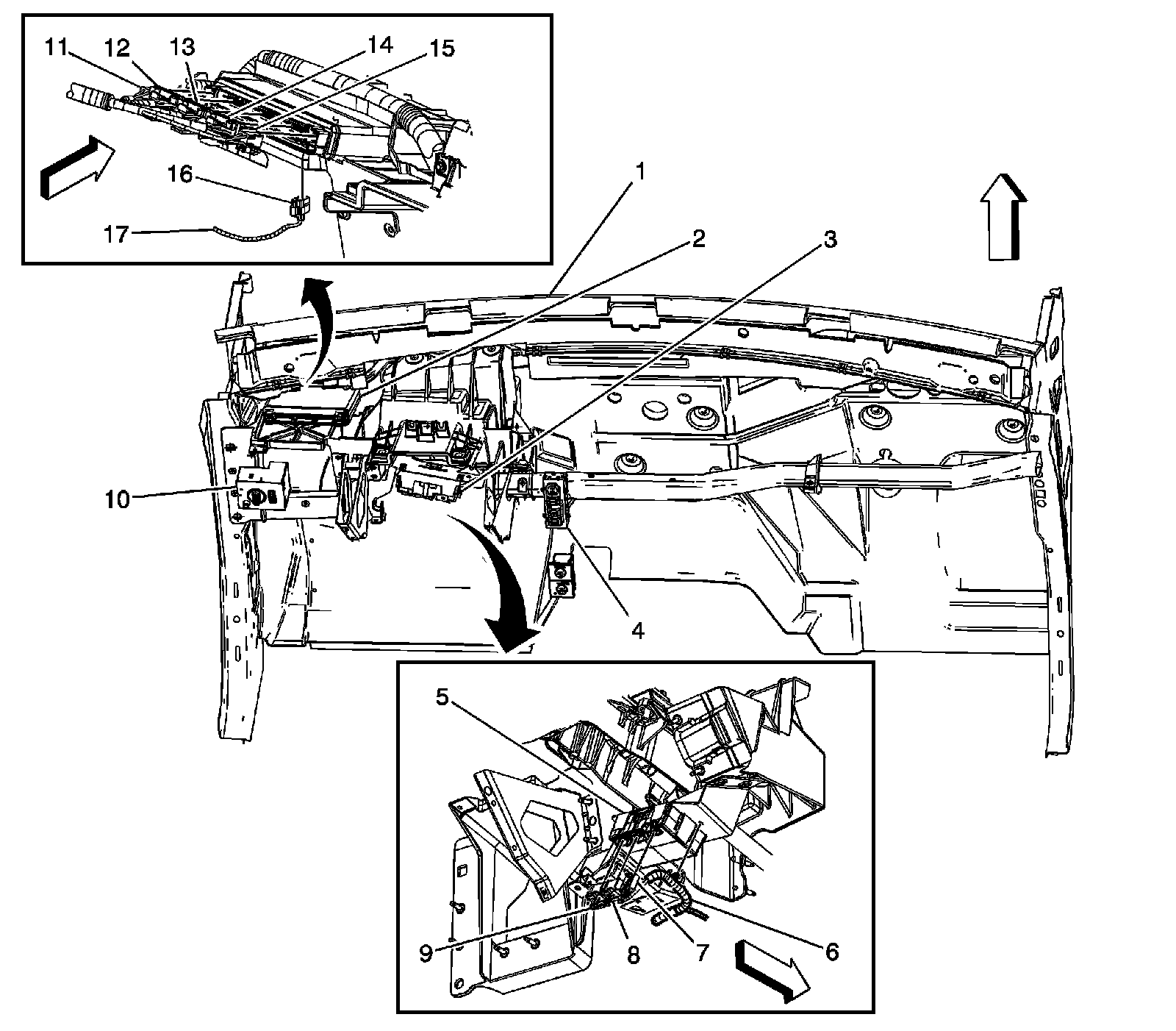
Transfer Case Control Component Views

Left Center of the I/P:





1 - Instrument Panel
2 - Body Control Module (BCM)
3 - Transfer Case Shift Control Module
4 - Transfer Case Shift Control Switch
5 - Transfer Case Shift Control Module
6 - I/P Harness
7 - Transfer Case Shift Control Module - C3
8 - Transfer Case Shift Control Module - C2
9 - Transfer Case Shift Control Module - C1
10 - Headlamp and Panel Dimmer Switch
11 - BCM - C1
12 - BCM - C2
13 - BCM - C3
14 - BCM - C4
15 - BCM - C5
16 - BCM - C6
17 - Body Harness