lemon-mirror:
Home >> Hummer >> 2007 >> H2 V8-6.0L >> Repair and Diagnosis >> Engine, Cooling and Exhaust >> Engine >> Specifications >> Thread Repair Specifications

Thread Repair Specifications



Thread Repair Specifications

Engine Block:




Engine Block - Front View:




Engine Block:




Engine Block - Rear View:




Engine Block:




Engine Block - Left Side View:




Engine Block:




Engine Block - Right Side View:




Engine Block:




Engine Block - Bottom View (part 1):




Engine Block - Bottom View (part 2):




Engine Block:




Engine Block - Top View:




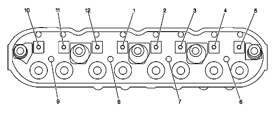
Cylinder Head:




Cylinder Head - Top View:




Cylinder Head:




Cylinder Head - End View:




Cylinder Head:




Cylinder Head - Exhaust Manifold Deck View:




Cylinder Head:




Cylinder Head - Intake Manifold Deck View: