lemon-mirror:
Home >> Hummer >> 2007 >> H2 V8-6.0L >> Repair and Diagnosis >> Diagrams >> Exploded Views >> Engine

Engine



Disassembled Views

Intake Manifold/Upper Engine

Intake Manifold/Upper Engine:




100 - Engine Block
307 - Engine Coolant Air Bleed Pipe
308 - Engine Coolant Air Bleed Pipe/Cover Seal
308 - Engine Coolant Air Bleed Pipe/Cover Seal
309 - Engine Coolant Air Bleed Pipe Bolt
310 - Engine Coolant Air Bleed Hose Clamp
311 - Engine Coolant Air Bleed Hose
312 - Engine Coolant Air Bleed Cover Bolt
313 - Engine Coolant Air Bleed Cover
500 - Intake Manifold
506 - Valley Cover Bolt
507 - Throttle Body Nut
508 - Throttle Body
509 - Throttle Body Gasket
510 - Fuel Rail with Injectors
511 - Fuel Rail Bolt
512 - Intake Manifold Bolt
513 - Intake Manifold Seal
514 - Intake Manifold Gasket
520 - Knock Sensor Oil Seals
555 - Valley Cover
556 - Valley Cover Gasket
708 - Evaporative Emission (EVAP) Canister Purge Solenoid Valve
709 - EVAP Canister Purge Solenoid Valve Isolator
710 - EVAP Canister Purge Solenoid Valve Bolt
712 - Fuel Rail Stop Bracket
713 - Fuel Rail Stop Bracket Bolt
714 - Manifold Absolute Pressure (MAP) Sensor
715 - MAP Sensor Seal
716 - Positive Crankcase Ventilation (PCV) Hose - Dirty Air
717 - Knock Sensor Wire Harness
718 - Knock Sensor
729 - EVAP Canister Purge Solenoid Valve Seal

Cylinder Head/Upper Engine

Cylinder Head/Upper Engine:




100 - Engine Block
209 - Valve Lifter
210 - Valve Lifter Guide
211 - Valve Lifter Guide Bolt
212 - Pushrod
213 - Rocker Arm
214 - Rocker Arm Bolt
215 - Rocker Arm Pivot Support
216 - Cylinder Head Core Hole Plug
217 - Cylinder Head Gasket
218 - Cylinder Head
220 - Cylinder Head Bolt - M11
221 - Cylinder Head Bolt - M8
222 - Valve Stem Oil Seal
222 - Valve Stem Oil Seal
223 - Valve Spring
223 - Valve Spring
224 - Valve Spring Cap
224 - Valve Spring Cap
225 - Valve Stem Key
226 - Cylinder Head Core Hole Plug
227 - Intake Valve
228 - Exhaust Valve
229 - Cylinder Head Coolant Plug
230 - Cylinder Head Locating Pin
422 - Oil Fill Tube O-Ring
423 - Oil Fill Tube
424 - Oil Fill Cap
450 - Oil Fill Cap O-Ring
504 - Valve Cover Gasket
504 - Valve Cover Gasket
505 - Valve Cover
505 - Valve Cover
515 - Valve Cover Bolt Grommet
516 - Valve Cover Bolt
600 - Exhaust Manifold
601 - Exhaust Manifold Gasket
602 - Exhaust Manifold Bolt
603 - Exhaust Manifold Heat Shield
604 - Exhaust Manifold Heat Shield Bolt
700 - Positive Crankcase Ventilation (PCV) Hose - Fresh Air
719 - Ignition Coils and Bracket Assembly
720 - Ignition Coil and Bracket Assembly Stud
721 - Ignition Coil Wire Harness
722 - Ignition Coil
723 - Ignition Coil Bolt
724 - Spark Plug Wire
725 - Coolant Temperature Sensor
726 - Spark Plug

Front of Engine

Front Of Engine:




100 - Engine Block
138 - Crankshaft Balancer
139 - Crankshaft Balancer Bolt
140 - Crankshaft Front Oil Seal
200 - Camshaft
201 - Camshaft Bearings
202 - Camshaft Sprocket Locating Pin
203 - Camshaft Retainer Plate
204 - Camshaft Retainer Plate Bolt
205 - Camshaft Sprocket
206 - Camshaft Sprocket Bolt
207 - Crankshaft Sprocket
208 - Timing Chain
300 - Water Pump
301 - Water Pump Bolt
302 - Water Inlet Housing Bolt
303 - Water Inlet Housing
304 - O-Ring
305 - Thermostat
306 - Water Pump Gasket
404 - Crankshaft Oil Deflector Nut
405 - Oil Pump Screen Bolt
406 - Oil Pump Screen O-Ring
407 - Oil Pump Screen
408 - Oil Pump Cover Bolt
409 - Oil Pump Cover
410 - Drive Gear
411 - Oil Pump Bolt
412 - Driven Gear
413 - Oil Pump Assembly
414 - Pressure Relief Valve
415 - Pressure Relief Valve Spring
416 - Plug
417 - Oil Level Indicator O-Ring
418 - Oil Level Indicator
419 - Oil Level Indicator Tube Bolt
420 - Oil Level Indicator Tube
421 - Oil Level Indicator Tube Seal
501 - Front Cover Bolt
502 - Front Cover
503 - Front Cover Gasket

Rear of Engine

Rear of Engine:




100 - Engine Block
131 - Flex Plate Spacer
132 - Flex Plate - Automatic Transmission
133 - Flex Plate Bolt
141 - Crankshaft Rear Oil Seal
517 - Crankshaft Rear Oil Seal Housing Bolt
518 - Crankshaft Rear Oil Seal Housing
519 - Crankshaft Rear Oil Seal Housing Gasket

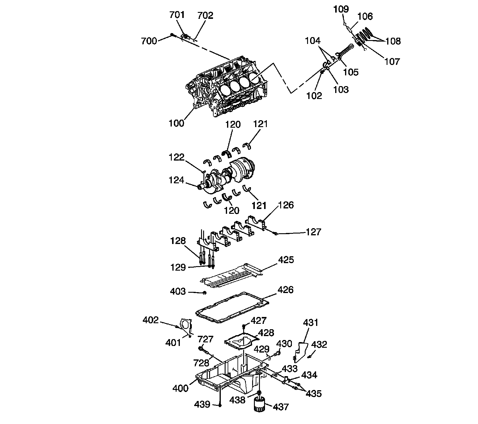
Lower Engine Assembly

Lower Engine Assembly:




100 - Engine Block
102 - Connecting Rod Bolt
103 - Connecting Rod Cap
104 - Connecting Rod Bearings
105 - Connecting Rod
106 - Piston Pin
107 - Piston
108 - Piston Rings
109 - Piston Pin Retainer
120 - Crankshaft Thrust Bearing
120 - Crankshaft Thrust Bearing
121 - Crankshaft Main Bearing
121 - Crankshaft Main Bearing
122 - Crankshaft Sprocket Key
124 - Crankshaft
126 - Crankshaft Bearing Cap
127 - Crankshaft Bearing Cap Bolt - M8
128 - Crankshaft Bearing Cap Stud - M10
129 - Crankshaft Bearing Cap Bolt - M10
400 - Oil Pan
401 - Closeout Cover - Right
402 - Closeout Cover Bolt - Right
403 - Crankshaft Oil Deflector Nut
425 - Crankshaft Oil Deflector
426 - Oil Pan Gasket
427 - Oil Pan Baffle Bolt
428 - Oil Pan Baffle
429 - Oil Pan Drain Plug O-Ring
430 - Oil Pan Drain Plug
431 - Closeout Cover - Left
432 - Closeout Cover Bolt - Left
433 - Oil Pan Cover Gasket
434 - Oil Pan Cover
435 - Oil Pan Cover Bolts
437 - Oil Filter
438 - Oil Filter Fitting
439 - Oil Pan Bolt
700 - Crankshaft Position (CKP) Sensor Bolt
701 - CKP Sensor
702 - CKP Sensor O-Ring
727 - Oil Level Sensor
728 - Oil Level Sensor O-Ring

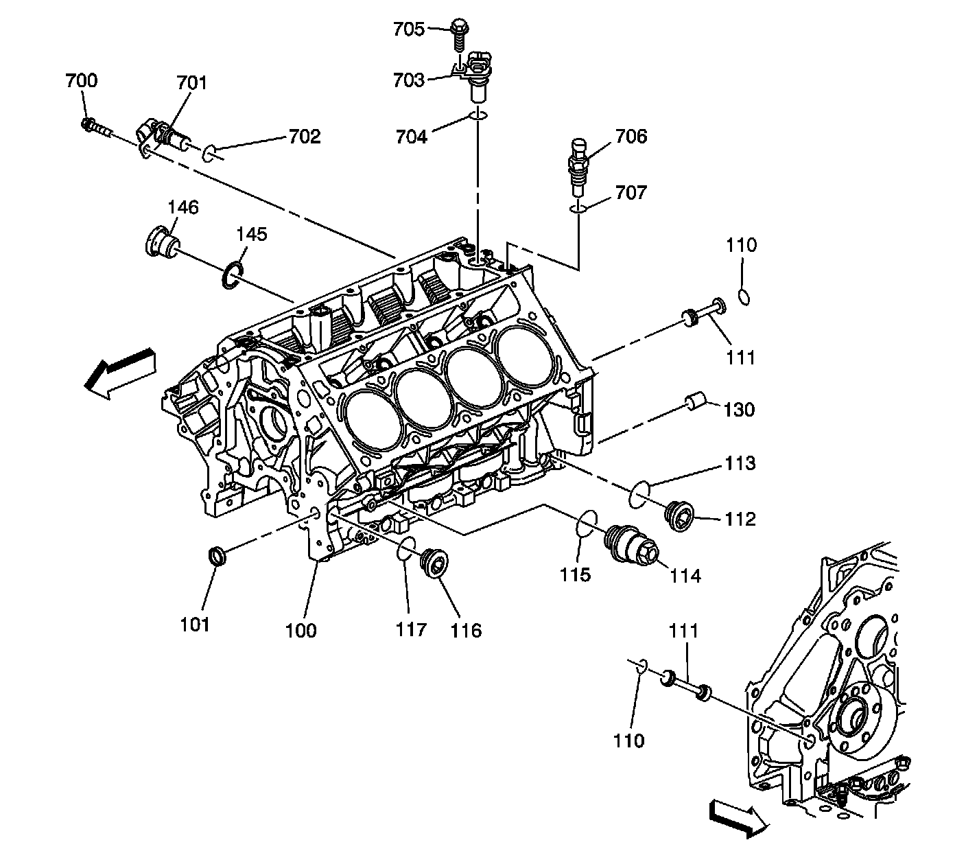
Engine Block Plugs/Sensors

Engine Block Plugs/Sensors:




100 - Engine Block
101 - Oil Gallery Plug - Front
110 - O-Ring
110 - O-Ring
111 - Oil Gallery Plug - Rear
111 - Oil Gallery Plug - Rear
112 - Oil Gallery Plug - Side
113 - Washer
114 - Engine Block Coolant Heater
115 - Washer
116 - Oil Gallery Plug - Side
117 - Washer
130 - Transmission Housing Locating Pin
145 - Washer
146 - Coolant Drain Hole Plug - Right
700 - Crankshaft Position (CKP) Sensor Bolt
701 - CKP Sensor
702 - CKP Sensor O-Ring
703 - Camshaft Position (CMP) Sensor
704 - CMP Sensor O-Ring
705 - CMP Sensor Bolt
706 - Oil Pressure Sensor
707 - Washer

Oil Pump Assembly

Oil Pump Assembly:




408 - Cover Bolt
409 - Cover
410 - Drive Gear
412 - Driven Gear
413 - Oil Pump
414 - Pressure Relief Valve
415 - Pressure Relief Valve Spring
416 - Plug