lemon-mirror:
Home >> Hummer >> 2007 >> H2 V8-6.0L >> Repair and Diagnosis >> Diagrams >> Electrical Diagrams >> Body Control Systems

Body Control Systems



Body Control System Schematics

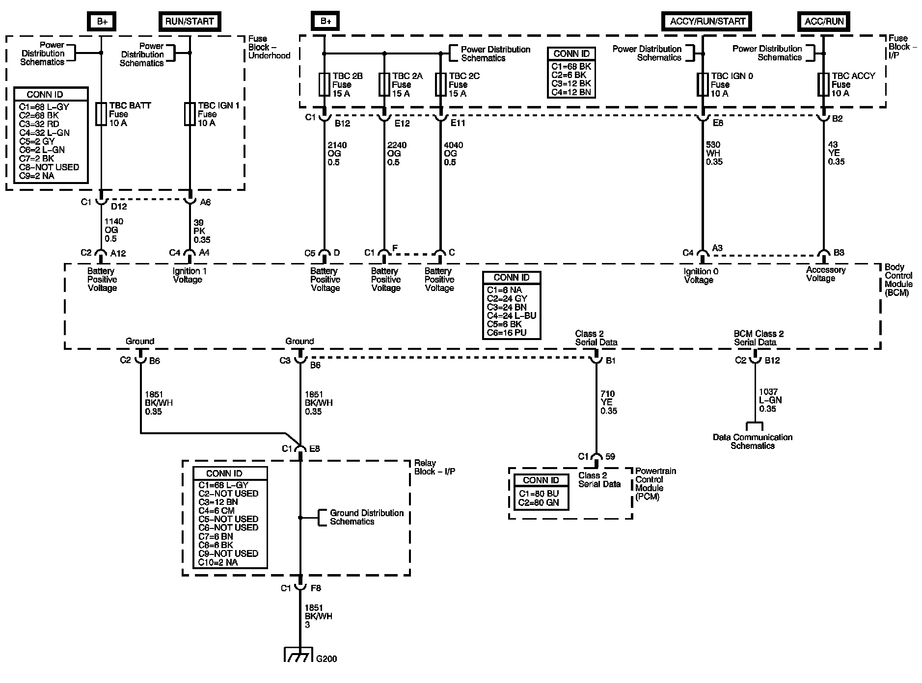
Power, Ground, and Serial Data






Power Windows, Door Locks, HVAC, and Tow/Haul






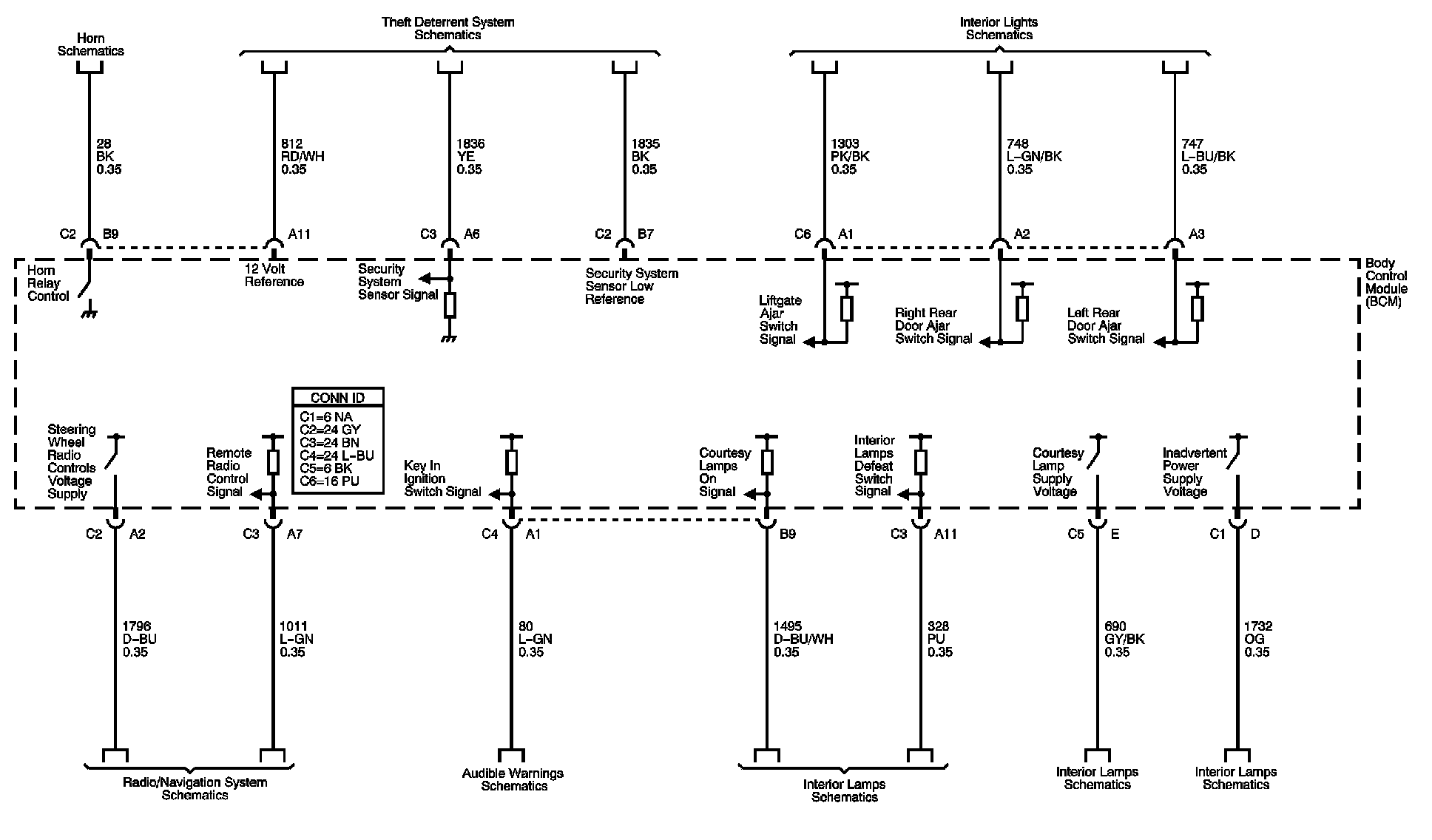
Interior Lights, Horns, Entertainment, and Theft Deterrent






Headlamps, Park Lamps, DRL, and Park Brake Signals






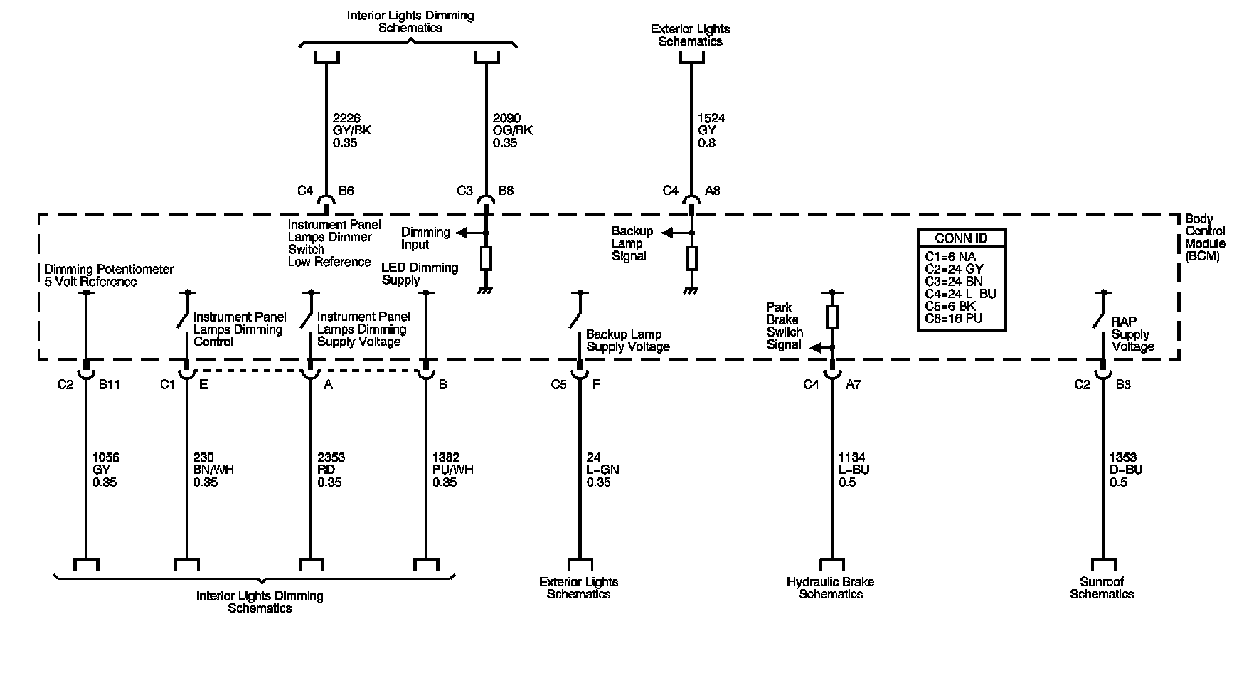
Interior Lights Dimming, Backup Lamps, and Sunroof Power







Locations: The locations for the Connectors, Grounds, Splices, and Grommets shown within these diagrams can be found via their numbers at Vehicle Locations. Locations