lemon-mirror:
Home >> Honda >> 2012 >> Ridgeline V6-3.5L >> Repair and Diagnosis >> Powertrain Management >> Computers and Control Systems >> Accelerator Pedal Position Sensor >> Service and Repair

Accelerator Pedal Position Sensor: Service and Repair




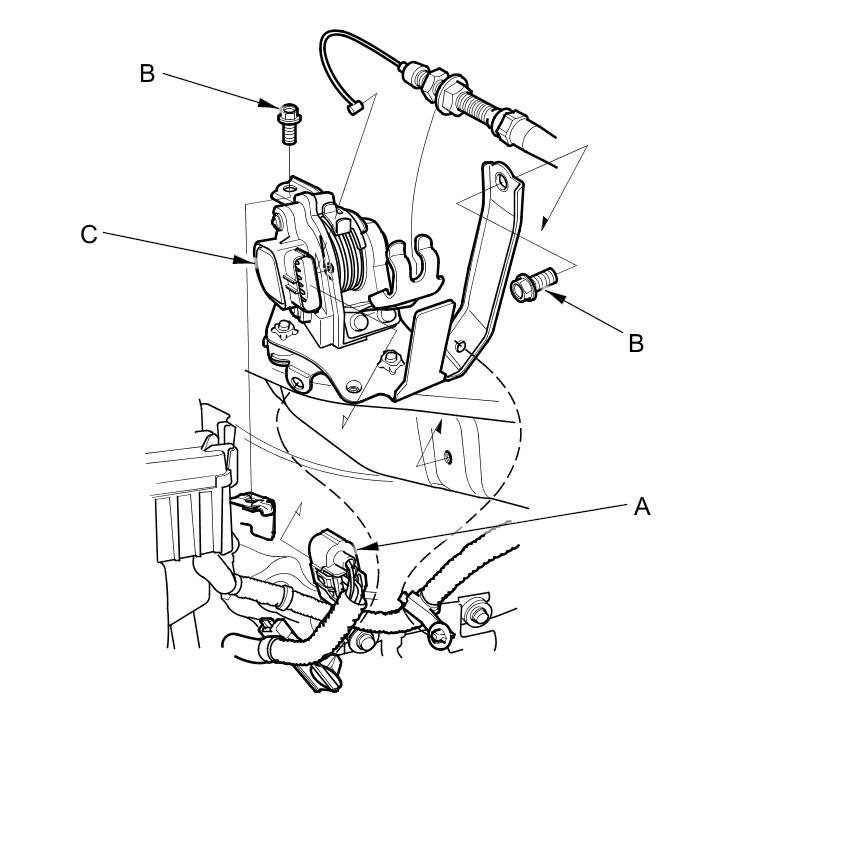
APP Sensor Replacement

1. Remove the throttle cable Service and Repair.

2. Disconnect the accelerator pedal position (APP) sensor 6P connector (A).





3. Remove the bolts (B) and the APP sensor (C).

4. Install the parts in the reverse order of removal.