lemon-mirror:
Home >> Honda >> 2012 >> Pilot 2WD V6-3.5L >> Repair and Diagnosis >> Windows and Glass >> Windows >> Power Window Switch >> Service and Repair >> Power Window Master Switch Replacement

Power Window Master Switch Replacement




Power Window Master Switch Replacement

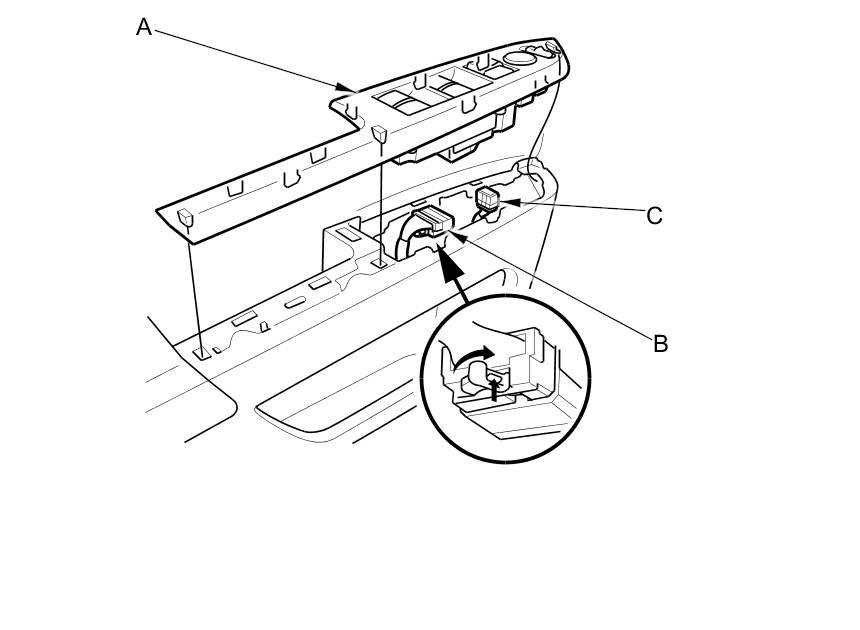
1. Carefully remove the power window switch panel (A).





2. Disconnect the 37P connector (B) from the power window master switch, and the 13P connector (C) from the power mirror switch.

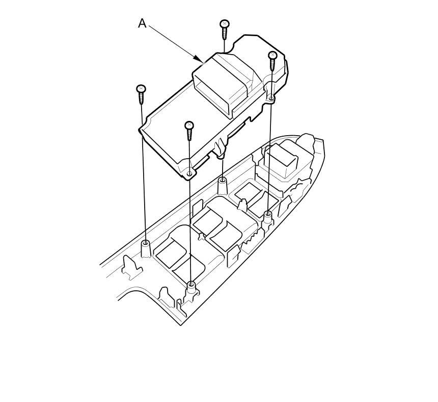
3. Remove the four screws and the power window master switch (A).






4. Install the switch in the reverse order of removal.

5. Reset the power window control unit Testing and Inspection.