lemon-mirror:
Home >> Honda >> 2012 >> Pilot 2WD V6-3.5L >> Repair and Diagnosis >> Body and Frame >> Seats >> Seat Temperature Control Module >> Service and Repair

Seat Temperature Control Module: Service and Repair




Seat Heater Control Unit Input Test/Replacement

NOTE:

- SRS components are located in this area. Review the SRS component locations Locations, and precautions and procedures Service and Repair before doing repairs or servicing.
- Before testing, make sure the No. 1 (MAIN) (120 A) and No. 2 (IG) (50 A) fuse in the under-hood fuse/relay box are OK.
- Before testing, troubleshoot the multiplex integrated control system first, using B-CAN System Diagnosis Test Mode A Troubleshooting - B-CAN System Diagnosis Test Mode A.

1. Turn the ignition switch to LOCK (0).

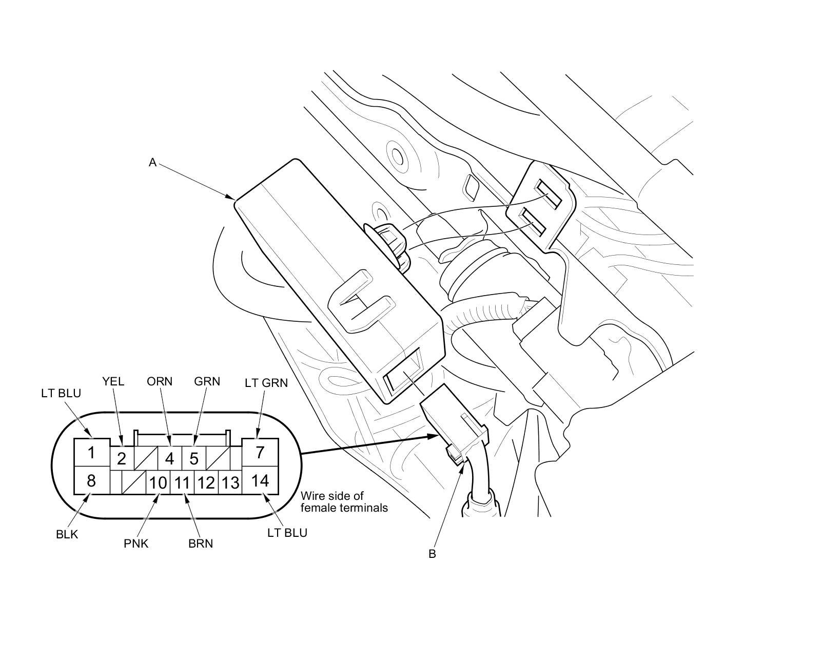
2. Remove the seat heater control unit (A).

3. Disconnect the 14P connector (B) from the seat heater control unit.





4. Inspect the connector and socket terminals to be sure they are all making good contact.

- If the terminals are bent, loose or corroded, repair them as necessary, and recheck the system.
- If the terminals look OK, go to step 5.

5. Reconnect the 14P connector to the control unit, and do the following input tests:

- If any test indicates a problem, find and correct the cause, then recheck the system.
- If all the input tests prove OK, go to step 6.





6. Disconnect the 14P connector from the control unit, and do the following input tests:

- If any test indicates a problem, find and correct the cause, then recheck the system.
- If all the input tests prove OK, the control unit must be faulty; replace it.