lemon-mirror:
Home >> Honda >> 2012 >> CR-V 2WD L4-2.4L >> Repair and Diagnosis >> Powertrain Management >> Computers and Control Systems >> Transmission Position Sensor/Switch >> Service and Repair

Transmission Position Sensor/Switch: Service and Repair






Transmission Range Switch Removal and Installation

Removal

1. Transmission Range Switch Cover





1. Remove the transmission range switch cover (A).

2. Transmission Range Switch





1. Shift the shift lever to N.

2. Remove the transmission range switch (A).

Installation

1. Transmission Range Switch





1. Make sure the selector control shaft is in the N position. If necessary, move the selector control shaft to the N position.

NOTE: Do not use the selector control shaft to adjust the shift position. If the selector control shaft tips are squeezed together it will cause a faulty signal or position due to play between the selector control shaft and switch.





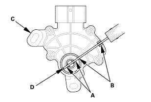
2. Align the cutouts (A) on the rotary-frame with the neutral positioning cutouts (B) on the transmission range switch (C), then put a 2.0 mm (0.079 in) feeler gauge blade (D) in the cutouts to hold the switch in the N position.

NOTE: Be sure to use a 2.0 mm (0.079 in) blade or equivalent to hold the switch in the N position.





3. Install the transmission range switch (A) gently on the selector control shaft (B) while holding it in the N position with the 2.0 mm (0.079 in) blade (C).





4. Tighten the bolts on the transmission range switch (A) while you continue holding the N position.

NOTE: Do not move the transmission range switch when tightening the bolts.

5. Remove the feeler gauge (B).

6. Check the connector (C) for corrosion, dirt, or oil, and clean or repair if necessary, then connect the connector securely.

2. Transmission Range Switch Cover





1. Install the transmission range switch cover (A).

3. After Installing Transmission Range Switch - Check

1. Turn the ignition switch to ON (II), or press the engine start/stop button to select the ON mode.

2. Move the shift lever through all positions, and check the transmission range switch synchronization with the A/T gear position indicator.

3. Check that the engine will start with the shift lever in P and N, and will not start in any other shift lever position.

4. Check that the back-up lights come on when the shift lever is in R.

5. Raise the vehicle on a lift, and make sure it is securely supported.

6. Start the engine, and check the shift lever operation.