lemon-mirror:
Home >> Honda >> 2012 >> Accord V6-3.5L >> Repair and Diagnosis >> Specifications >> Mechanical Specifications >> Engine >> Intake Manifold

Intake Manifold




Intake Manifold

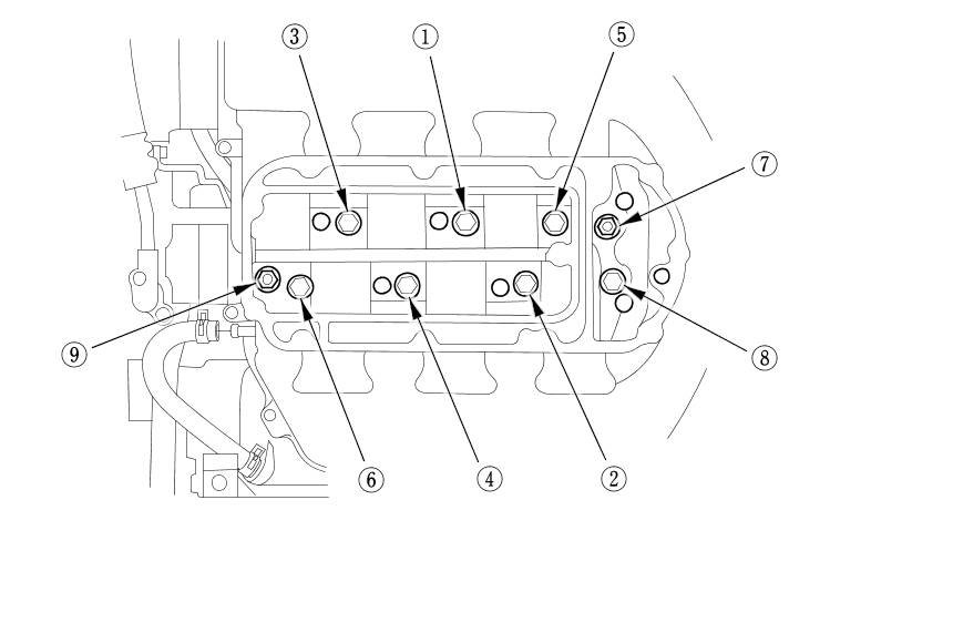
Tighten the bolts and nuts sequentially in three steps.