lemon-mirror:
Home >> Honda >> 2011 >> Insight L4-1.3L Hybrid >> Repair and Diagnosis >> Maintenance >> Timing Component Alignment Marks >> Locations

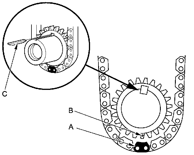
Timing Component Alignment Marks: Locations




Caution: Incorrect removal or installation of the timing chain can result in damage to internal engine components.


















For complete Timing Chain Removal and Installation information, please refer to Timing Chain; Service and Repair.